Разработка и производство сервоприводов,
бесколлекторных и вентильных двигателей, движитель (трастер) для телеуправляемого необитаемого подводного аппарата (ТНПА, ROV)

Адрес: Москва, ул.Большая Переяславская, д.9+7(985)928-61-99
Литье пластика на заказ
ДОКУМЕНТАЦИЯ

ГЛАВА 4.ИСПОЛНИТЕЛЬНЫЕ МЕХАНИЗМЫ НА БАЗЕ ЭЛЕКТРОПРИВОДА С ШАГОВЫМИ ДВИГАТЕЛЯМИ

§4.3. Система разомкнутого дискретного привода с шаговым двигателем

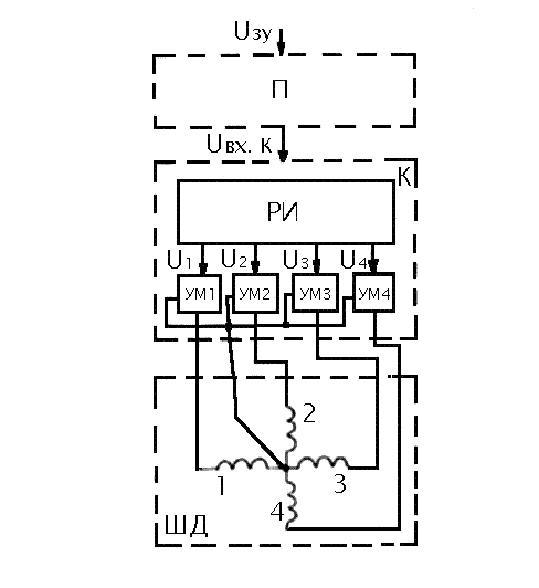
Разомкнутые дискретные приводы с шаговыми двигателями в настоящее время получили весьма широкое распространение благодаря двум свойствам: простоте конструкции и возможности фиксации конечных координат перемещений без датчиков обратной связи, т.е. работе в режиме слежения. На рис. 4.5 показана функциональная схема разомкнутого дискретного привода с четырехфазным ШД.

Управляющим устройством является преобразователь сигналов П, который преобразует заданную команду Uзу, поступающую от задающего устройства в цифровом или, в отдельных случаях, в аналоговом виде, в одноканальную последовательность импульсов, соответствующую целям и требованиям процесса регулирования. Полупроводниковый коммутатор К является силовым преобразователем дискретного привода и состоит из двух функциональных узлов: импульсного усилителя мощности УМ и распределителя импульсов РИ, управляющего работой УМ. Число каналов в усилителе мощности равно числу обмоток управления ШД (в рассматриваемом случае УМ1-УМ4).

Коммутатор шагового двигателя. Коммутатор служит для преобразования одноканальной последовательности командных импульсов Uвх к в многофазную систему напряжений (потенциальных сигналов) и усиления этих напряжений U1-U4 перед их подачей на обмотки управления ШД. Первую часть этой задачи решает распределитель импульсов РИ.

Распределители импульсов бывают:

- нереверсивные, обеспечивающие одно направление вращения;

- реверсивные, обеспечивающие оба направления вращения.

Рис.4.5

Реверсивные распределители при управлении однополярными импульсами имеют два входных канала: “Вперед” и “Назад”. В первый канал командные импульсы поступают при повороте ротора вперед, во второй канал – при повороте назад.

Рис.4.6

Логику работы нереверсивного распределителя импульсов проанализируем на примере четырехтактной однополярной схемы управления четырехфазным ШД. На рис. 4.6,а показана временная диаграмма одноканальных командных импульсов Uвх к, периоды их следования обозначены римскими цифрами I, II, III и т.д. При поступлении каждого командного импульса РИ изменяет напряжения управления U1-U4 на входах усилителей мощности УМ1-УМ4 таким образом, чтобы на обмотки управления ШД через УМ1-УМ4 поступали соответствующие силовые импульсы.

Распределители импульсов бывают аппаратные (исторически появились раньше) и программные. Аппаратные распределители обычно реализуются на базе дискретных полупроводниковых элементов или интегральных микросхем в виде сдвигающих регистров или счетчиков с дешифратором. На рис. 4.6,б показана схема распределителя импульсов, выполненного в виде сдвигающего регистра на двух JK-триггерах и позволяющего реализовать временную диаграмму импульсов, представленную на рис. 4.6,а.

Усилители мощности УМ, питающие обмотки управления ШД силовыми импульсами напряжения (тока), реализуются на транзисторах или запираемых тиристорах.

Преобразователь. Преобразователь служит для реализации требуемого закона управления приводом. Примерами таких характерных режимов являются следующие:

1. искусственное дробление (уменьшение) шага, достигаемое за счет ступенчатой модуляции тока в обмотках управления ШД в пределах основного шага;

2. программный разгон и торможение, обеспечивающие работу привода в переходных режимах без потери шагов; достигается за счет изменения частоты управляющих импульсов по требуемым законам;

3. старт-стопный режим, обеспечивающий минимальную динамическую ошибку в процессе отработки шага; достигается за счет перевода привода в режим торможения противовключением на отдельных отрезках времени отработки шага (одного, двух, трех).

а)

б)

Рис.4.7

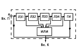
В простейших случаях преобразователи реализуются аппаратным способом на дискретных или интегральных элементах для каждого конкретного режима. На рис. 4.7,а показана схема преобразователя, позволяющего реализовать закон нарастания частоты импульсов при разгоне, приведенный на рис. 4.7,б. Преобразователь реализован на линиях задержки ЛЗ1-ЛЗ4, уставки ЛЗ Δt1t2t3t4, значение Δt1 соответствует частоте приемистости. Генератор импульсов ГИ формирует импульсы заданной предельной частоты.

В современных электроприводах с различными сочетаниями режимов работы на отдельных участках технологического процесса многорежимные аппаратные преобразователи получаются очень сложными. Поэтому все чаще задачу преобразователей выполняют микроконтроллеры с заложенными в них программами реализации требуемых режимов. В целом ряде случаев контроллеры берут на себя и часть функций распределителя импульсов.

Назад | Оглавление | Вперед
+7(985)928-61-99 Москва, ул.Большая Переяславская, д.9