Разработка и производство сервоприводов,
бесколлекторных и вентильных двигателей, движитель (трастер) для телеуправляемого необитаемого подводного аппарата (ТНПА, ROV)

Адрес: Москва, ул.Большая Переяславская, д.9+7(985)928-61-99
Литье пластика на заказ
ДОКУМЕНТАЦИЯ

ГЛАВА 2. ИСПОЛНИТЕЛЬНЫЕ МЕХАНИЗМЫ НА БАЗЕ ЭЛЕКТРОПРИВОДА ПОСТОЯННОГО ТОКА

§2.2.Непрерывный способ регулирования скорости исполнительных двигателей постоянного тока

Якорный непрерывный способ управления. Магнитный поток создается током, протекающим по обмотке возбуждения главных полюсов (рис. 2.6,а), либо постоянными магнитами (рис. 2.6,б).


Рис 2.6

В первом случае обмотка возбуждения постоянно подключается к независимому источнику питания с напряжением U, равным номинальному для двигателя (U=const, Ф=const). Угловая скорость ротора регулируется изменением напряжения управления Uу на обмотке якоря.

Анализ начнем с получения уравнений механических и регулировочных характеристик. Эти уравнения принято рассматривать в относительных единицах:

  • коэффициент сигнала - α=Uу/Uу.ном;
  • относительная угловая скорость - ω*=ω/ωо.ид ;
  • относительный момент - М*эмп.

Здесь ωо.ид – угловая скорость идеального х.х. при α = 1, МП – пусковой момент при α = 1.

Для исполнительного двигателя с якорным управлением при произвольном α уравнение (2.4) с учетом (2.5) при Rд = 0 принимает вид

ω*= α – М* , (2.7)

При постоянном коэффициенте сигнала α выражение (2.7) является уравнением механической характеристики ω*=f(М*) исполнительного двигателя с якорным управлением, а при постоянном моменте М* - уравнением регулировочной характеристики ω*=f(α). Из (2.7) следует, что механические и регулировочные характеристики при якорном управлении линейные (рис.2.7).


Рис.2.7

Механические характеристики (рис. 2.7,а) обеспечивают устойчивость работы двигателя при якорном управлении во всем диапазоне угловых скоростей ω*= 0 – 1. Жесткость механических характеристик остается неизменной при любом коэффициенте сигнала α. Значение пускового момента в относительных единицах равно коэффициенту сигнала: Мпа* =α, т.е. пусковой момент прямо пропорционален напряжению управления. Прямо пропорциональна напряжению управления и скорость холостого хода: ωоа* =α.

Якорный способ управления обеспечивает линейную зависимость угловой скорости ротора от напряжения управления при любом моменте нагрузки на валу (рис. 2.7,б). Следует отметить, что регулировочная характеристика ненагруженного двигателя начинается от нуля только в идеальном случае (М*=0), когда механические потери в двигателе равны нулю. У реальных двигателей в режиме х.х. (пунктирная линия) ротор начинает вращаться при определенном напряжении трогания, отличном от нуля (соответствующий коэффициент сигнала обозначен αтр).

Значение αтр зависит от момента трения в двигателе и определяет зону нечувствительности; у исполнительных двигателей постоянного тока αтр не превышает 0,05.

При якорном управлении мощность управления, потребляемая якорем, составляет 80–95% от всей потребляемой мощности (меньшие значения относятся к двигателям меньшей мощности). Значительная мощность управления – недостаток якорного способа, поскольку возникает необходимость в мощных источниках сигнала управления (электронных, магнитных усилителях и т.д.).

Динамические характеристики представляют собой временные зависимости и показатели, определяющие качество работы исполнительных двигателей в переходных режимах: при пуске, торможении, реверсировании и регулировании скорости. К числу важнейших динамических показателей относится быстродействие – способность развивать заданную угловую скорость ротора с минимальным запаздыванием во времени по отношению к соответствующему изменению электрического сигнала.

У исполнительных микродвигателей постоянного тока время электромагнитных переходных процессов, связанных с индуктивностью обмоток, значительно меньше времени электромеханических переходных процессов, связанных с моментом инерции ротора. Поэтому на начальном этапе анализа динамических характеристик электромагнитными переходными процессами можно пренебречь и провести этот анализ на основе уравнения равновесия моментов.

Электромагнитный момент, развиваемый двигателем, преодолевает момент нагрузки Мн, прикладываемый к валу двигателя, и собственный момент сопротивления двигателя Мо (момент холостого хода), определяемый механическими и добавочными потерями в двигателе. Результирующий момент определяет значение и знак ускорения ротора:

(2.8)

где J - момент инерции вращающихся частей – ротора и нагрузки,
М0 + Мн = Мст - статический момент сопротивления.

При якорном управлении механическая характеристика представляет собой прямую линию, проходящую через точки скорости холостого хода ωоα и пускового момента Мпα, соответствующие произвольному значению коэффициента сигнала. Уравнение этой прямой линии при данном сигнале α имеет вид

(2.9)

Принимаем для упрощения Мст=0,подставляем Мэм из (2.9) в (2.8) и получаем дифференциальное уравнение движение ротора:

(2.10)

Решая уравнение (2.10) при нулевых начальных условиях (t=0, ω=0), получаем переходную функцию двигателя:

ω = ωоα (1-е-t/τм) , (2.11)


Рис. 2.8

График переходной функции ω = f(t) изображен на рис. 2.8, а. Уравнение экспоненты (2.11) и указанный график характеризуют, в частности, переходный процесс при пуске двигателя. Величина τм ,входящая в выражение (2.11), - это электромеханическая постоянная времени двигателя, равная коэффициенту при производной от угловой скорости в уравнении (2.10):

(2.12)

Поскольку выражение (2.11) является уравнением экспоненты, то τм - это время, в течение которого двигатель после подачи сигнала управления развивает угловую скорость, равную 0,632 от установившегося значения (это определение соответствует ГОСТу).

Практическое время разгона, за которое ротор достигает скорости 0,95-0,98 от заданной, составляет (3 ÷ 4) τм.

Если записать уравнение (2.10) в операторной форме, то из него можно получить выражение передаточной функции

(2.13)

Как видно, исполнительный двигатель является апериодическим звеном. Коэффициент передачи двигателя Кдв/Uу представляет собой отношение приращения угловой скорости ротора к приращению напряжения управления в установившемся режиме; при линейной регулировочной характеристике Кдв равен ее крутизне.

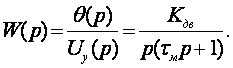
Если за выходную величину двигателя принять угол θ поворота ротора (ω(p)=рθ(р)), то двигатель является инерционным интегрирующим звеном с передаточной функцией:

(2.14)

Переходная функция θ=f(t) имеет вид

θ= Кдв Uy[t-τм (1-е-t/τм)] , (2.15)

График переходной функции показан на рис. 2.8,б.

Электромеханическая постоянная времени (см.(2.12)) прямо пропорциональна моменту инерции ротора J, угловой скорости холостого хода ωоα и обратно пропорциональна пусковому моменту Мпα .

При якорном способе управления, как отмечалось ранее, ω = α ω0.идпα=αМп и постоянная времени

(2.16)

Электромеханическая постоянная времени служит характеристикой быстродействия исполнительных двигателей постоянного тока. Чем меньше , тем двигатель ближе по своим свойствам к идеальному безынерционному звену. Как видно из (2.16), основные меры по уменьшению τм следующие:

  1. снижение момента инерции ротора; у микродвигателей с барабанным ротором лежит в диапазоне 0.035-0,15 с, у микродвигателей с полым немагнитным ротором она снижается до 0,015-0,02 с, а у микродвигателей с дисковым ротором – до 0,005-0,02 с;
  2. увеличение пускового момента за счет совершенствования конструкции, применения лучших магнитных материалов и повышения плотности тока в обмотках.

Изложенный анализ динамики исполнительного двигателя постоянного тока проводился без учета статического момента сопротивления на валу двигателя и электромагнитных переходных процессов в обмотке управления. Однако, у некоторых двигателей времена протекания электромагнитных и электромеханических переходных процессов могут оказаться соизмеримыми.

Например, передаточная функция по управлению будет иметь вид

, (2.17)

где τя=Lя\Rя – электромагнитная постоянная времени якоря, Lя – индуктивность обмотки якоря. Передаточная функция (2.17) соответствует либо колебательному, либо апериодическому звену второго порядка. Поскольку у двигателей обычно τм>4τя, то корни характеристического квадратного уравнения знаменателя передаточной функции действительные и разные, и двигатель является апериодическим звеном второго порядка. Если τм>> τя, то выражение(2.17) может быть сведено к (2.13).

Система «Управляемый выпрямитель – двигатель» (УВ-Д). Управляемые выпрямители на тиристорах состоят из силовой части, в которую кроме самих тиристоров обычно входят специальные трансформаторы, и схемы управления тиристорами. Классификация основных типов УВ приведена на рис. 2.9.


Рис.2.9

Силовая часть включается в одно- или трехфазную сеть переменного тока. У однофазных (по первичной стороне) трансформаторов, применяемых в преобразователях малой мощности, на вторичной стороне напряжение либо однофазное, либо двухфазное со сдвигом на 180°. У трехфазных трансформаторов, применяемых в преобразователях средней и большой мощности, на вторичной стороне число фаз от 3 до 24.

У нереверсивных УВ полярность выходного напряжения не может изменяться, у реверсивных – может изменяться в зависимости от входного воздействия. Реверсивные УВ имеют двойной комплект тиристоров, один из которых обеспечивает вращение двигателя в одном направлении, другой – в противоположном.

Принцип работы управляемого тиристорного выпрямителя основан на том, что в положительный полупериод тиристор открывается и пропускает ток только в том случае, если на его управляющий электрод подан соответствующий потенциал. Закрывается тиристор либо напряжением противоположной полярности, либо при спаде тока до нуля. Меняя момент открытия тиристора (угол запаздывания), можно изменить среднее значение выходного напряжения и тока.


Рис.2.10

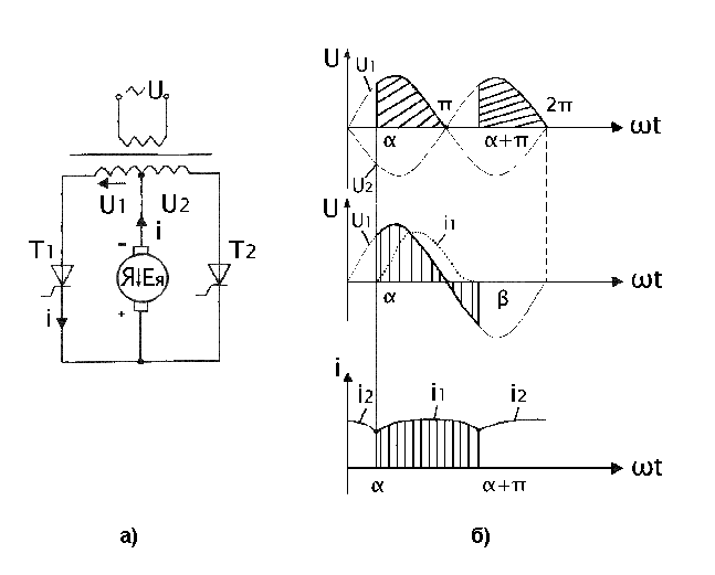
Рассмотрим работу простейшего двухфазного УВ (рис. 2.10,а), в котором двухфазная система напряжений U1=Umsin ωt и U2=-msin ωt получена выводом средней точки вторичной обмотки трансформатора (Um – амплитуда напряжения на полуобмотке). Выпрямление и регулирование напряжения на якоре двигателя осуществляется тиристорами Т1 и Т2.В момент времени, определяемый углом запаздывания α (рис. 2.10,б), на управляющий электрод тиристора Т1 от схемы управления поступает разрешающий импульс напряжения, тиристор открывается и подает положительное напряжение на якорь двигателя. Если бы сопротивление якоря было чисто активным, то ток якоря i, протекающий через тиристор Т1, изменялся бы по тому же закону, что и напряжение (толстая линия, ограничивающая заштрихованный участок α–180° на рис. 2.10,б). Закрытие тиристора произошло бы при прохождении тока через нуль (напряжением противоположной полярности). Затем со сдвигом на 180° этот процесс повторился бы в цепи тиристора Т2 . В интервале 180° – ( α + 180°) ток якоря был бы равен нулю, т.е. привод бы работал в режиме прерывистого тока.

В действительности обмотка якоря обладает кроме активного сопротивления индуктивностью, и ток не может нарастать и исчезать скачком, а должен изменяться плавно. Закон изменения тока i при работе только тиристора Т1 показан на рис. 2.10,в пунктирной линией. Причем при прохождении напряжения через нуль ток в нуль не обращается, а продолжает некоторое время протекать под действием ЭДС самоиндукции якоря, преодолевая отрицательное напряжение питания. Тиристор Т1 закрывается в момент времени, соответствующий углу β , когда ток тиристора T1 становится равным нулю; при этом график мгновенных значений выпрямленного напряжения имеет как положительный, так и отрицательный участок. При определенных условиях граница возможного интервала проводимости первого тиристора β может оказаться равной или больше угла открытия второго тиристора α + 180°. Тогда при открытии тиристора Т2 тиристор Т1 будет закрыт, т.к. на его отрицательный электрод поступит более высокий потенциал через открывшийся тиристор Т2. В этот момент мгновенное значение тока тиристора Т2 должно стать равным току якоря, протекающему до этого через тиристор Т1; наступает режим непрерывного тока (рис. 2.10, г).

Выпрямленный ток имеет две составляющие: постоянную и переменную. Постоянная составляющая обеспечивает создание вращающего момента, соответствующего нагрузке двигателя. Переменная составляющая вызывает дополнительные потери мощности в двигателе, причем она резко возрастает в режиме прерывистого тока. Поэтому в системе УВ-Д стремятся обеспечить режим непрерывного тока; в большинстве схем для этого последовательно с якорем двигателя приходится включать дополнительную индуктивность (дроссель или реактор).

В рассмотренной схеме в режиме непрерывного тока β = α + 180° и среднее значение выпрямленного напряжения

, (2.18)

где – максимально возможное значение среднего напряжения, соответствующее углу запаздывания α =0; U – действующее значение напряжения на полуобмотке.


Рис.2.11

Зависимость (2.18) выпрямленного напряжения управляемого выпрямителя от угла запаздывания, называемая характеристикой управления, показана графически на рис. 2.11 сплошной линией. Как видно, характеристика управления УВ нелинейная, диапазон регулирования в режиме выпрямителя: 0 ≤ α ≤ 90°. При α > 90° выпрямленное напряжение меняет знак (см. (2.18)) и запирает тиристоры; ток через нагрузку – якорь двигателя, протекать не может, и напряжение на нем равно нулю (характеристика совпадает с осью абсцисс). Однако на рис. 2.11 пунктиром показано продолжение характеристики управления в область отрицательных напряжений. Реализация этой части характеристики возможна, если УВ переводится в режим инвертора – преобразователя энергии постоянного тока в энергию переменного тока, отдаваемую в сеть. Этот режим используется, в частности, при рекуперативном торможении двигателей.

Рассмотренный УВ является нереверсивным, т.е. обеспечивает только одну полярность выходного напряжения и соответственно одно направление вращения двигателя. Реверсивные УВ выполняются с двойным комплектом тиристоров, комплекты включаются по встречно-параллельной или перекрестной схеме.

Особенности статических и динамических характеристик. Уравнение механической характеристики системы УВ-Д может быть получено на основании (2.4) с учетом (2.18)

, (2.19)

где Rд=Rув.экв – эквивалентное активное сопротивление УВ.

Передаточная функция системы УВ-Д может быть получена как произведение передаточных функций управляемого выпрямителя Wув(р) и двигателя (см. (2.13) или (2.17)).

Передаточная функция тиристорного УВ, строго говоря, должна быть записана в отклонениях, т.к. его характеристика управления Uср=f(α ) нелинейная:

, (2.20)

где ΔUср,ΔUу - приращения среднего выходного напряжения и напряжения на входе схемы управления УВ; Кув – коэффициент передачи УВ на линеаризованном участке характеристики управления;τу - электрическая постоянная времени схемы управления УВ; τзап - время запаздывания УВ.

Как видно, в общем случае тиристорный УВ является апериодическим звеном с запаздыванием. Запаздывание объясняется т ем, что тиристор является неполностью управляемым прибором и воздействовать на него в процессе работы до прекращения тока практически нельзя.

Постоянные времени τ'м и τ'я учитывают активные сопротивления и индуктивность всего силового якорного контура системы

; , (2.21)

где Lув.экв – эквивалентная индуктивность управляемого выпрямителя, включающая в общем случае и индуктивность дросселей.

Следует отметить, что параметры τу и τзап обычно невелики по сравнению с τ'м и их учет осуществляется только при анализе динамики быстродействующих приводов. В остальных случаях можно рассматривать УВ как усилительное звено с коэффициентом передачи Кув.

Система управления тиристорным УВ вырабатывает, распределяет и сдвигает во времени последовательности импульсов для отпирания тиристоров. Поскольку, угол запаздывания α определяется фазой поступления разрешающего импульса на управляющий электрод тиристора, система получила название системы импульсно-фазового управления (СИФУ).

Различают синхронные, асинхронные и цифровые системы управления. В синхронных СИФУ момент поступления импульса синхронизирован с фазой питающего напряжения и угол сдвига отсчитывается, например, от момента прохождения напряжения через нуль. Синхронные СИФУ могут быть многоканальными, в которых число фазосдвигающих устройств должно соответствовать числу фаз УВ, и одноканальными, в которых синхронизация с сетью осуществляется только один раз за период питающего напряжения. В асинхронных СИФУ отсутствует непосредственная связь между моментом подачи разрешающего импульса и фазой питающего напряжения; угол подачи последующего импульса отсчитывается от предыдущего. В цифровых СИФУ управляющая программа определяет момент подачи разрешающего импульса с учетом целого ряда внешних факторов – асимметрии системы питающего напряжения, разброса параметров электрических цепей и т.д. Цифровые СИФУ, реализованные на современных микропроцессорах, являются перспективными, но алгоритмы управления такими СИФУ пока еще довольно сложные. Наиболее широкое распространение пока имеют синхронные многоканальные СИФУ.

а)

б)

Рис.2.12

На рис.2.12,а показана схема простейшей вертикальной СИФУ для одной группы тиристоров Т двухфазного УВ (рис.2.10,а). Пилообразное опорное напряжение Uоп (рис.2.12 ,б),вырабатываемое генератором опорного напряжения ГОН и синхронизированное с питающим напряжением сети u1 синхронизирующим устройством СУ, сравнивается в блоке сравнения БС с напряжением Uy . В момент равенства напряжений Uоп и Uy формирователь импульсов ФИ формирует отпирающий импульс Uфи для тиристора. Изменение фазы α поступления разрешающего импульса и соответственно угла запаздывания отпирания тиристора осуществляется изменением напряжения управления Uy. Тем самым регулируется среднее значение напряжения Uн, подаваемого с выхода УВ на нагрузку,в данном случае якорь двигателя. При изменении Uу от 0 до Uоп.max угол запаздывания α меняется от 90° до 0,а среднее напряжение на нагрузке в режиме непрерывного тока растет от 0 до Uср.max(см.(2.18)). При линеаризации характеристики управления коэффициент передачи Кув =Uср.max\ Uоп.max.

Назад | Оглавление | Вперед
+7(985)928-61-99 Москва, ул.Большая Переяславская, д.9