|
назад | оглавление | вперед
1.3. Механические усилия в магнитном поле
На проводник с током I, помещенный в магнитное поле индукции B, воздействует сила, направление которой определяется правилом левой руки (если вектор направлен в сторону ладони, а четыре пальца - вдоль тока в проводнике, то большой палец укажет направление силы).
|

|
(1.10) |
где
- длина проводника с током.

Рис.1.5. К определению направления действия механической силы в магнитном поле (а) и картины распределения магнитных силовых линий в поле проводника с током(б)
Механическое усилие, действующее на проводник с током в магнитном поле, объясняется стремлением силовых линий, искаженных действием тока, выпрямиться (рис. 1.5б).

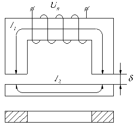
Рис.1.6. К определению силы тяги электромагнита
Сила тяги электромагнита (рис.1.6) определяется выражением
|
F= . |
(1.11) |
назад | оглавление | вперед
|