Разработка и производство сервоприводов,
бесколлекторных и вентильных двигателей, движитель (трастер) для телеуправляемого необитаемого подводного аппарата (ТНПА, ROV)

Адрес: Москва, ул.Большая Переяславская, д.9+7(985)928-61-99
Литье пластика на заказ
ДОКУМЕНТАЦИЯ

ГЛАВА 7.ЭЛЕКТРОМАГНИТНЫЕ ИСПОЛНИТЕЛЬНЫЕ МЕХАНИЗМЫ

§7.3. Электромагнитные муфты

Во многих электрических системах управления исполнительный элемент системы – электрический двигатель, соединяется с регулирующим органом производственного механизма через специальное соединительное устройство, которое называют муфтой. Муфта служит для передачи механической энергии с одного вала на другой.

Существует большое количество конструкций муфт, основанных на различных физических принципах.

На рис.7.4 показана схема соединения двигателя с рабочим механизмом с помощью муфты. Муфта состоит из двух основных частей: ведущей 1, на которую поступает мощность от приводного двигателя, и ведомой 2, мощность с которой передается регулирующему органу. В ряде случаев необходимо жестко связать рабочий механизм с двигателем. Тогда ведомая и ведущая части муфты соединены без относительного перемещения. Такие муфты называются постоянно соединительными.

Рис.7.4

Широкое применение в системах автоматизации и управления получили муфты с электромагнитным управлением, когда соединение ведущей и ведомой частей происходит не жестко механически, а за счет упругих сил электромагнитного поля. Это позволяет подключать двигатель к механизму без механических ударов; осуществлять передачу движения в изолированных друг от друга средах (например, ввод движения в вакуумную среду), а в ряде случаев и регулировать частоту вращения в системах управления.

В зависимости от связи ведущей и ведомой частей все муфты можно разделить на два класса: муфты с механической связью; индукционные муфты т.е. со связью через магнитное поле.

К первой группе относятся:

а) Фрикционные, или муфты трения, у которых ведущая и ведомая части прижимаются друг к другу электромагнитными силами. Эти муфты выполняются с одним или несколькими дисками, с цилиндрическими или коническими поверхностями трения.

б) Порошковые, в которых соединение между частями муфты происходит за счет намагничивания порошковой ферромагнитной смеси, заполняющей зазор между частями муфты.

в) Зубчатые или кулачковые, у которых на ведущей и ведомой частях муфты имеются зубчики, с помощью которых при приложении электромагнитной силы осуществляется «геометрическое замыкание» (соединение) частей муфты.

Ко второй группе относятся:

а) Асинхронные или муфты скольжения, которые работают за счет сил электромагнитного воздействия, возникающих при вращении ведущей части муфты, имеющей катушку возбуждения, относительно ведомой части (принцип асинхронной машины).

б) Синхронные муфты с постоянными магнитами. Эти муфты имеют магнитопроводы с полюсами на обеих частях муфты. При прохождении тока через катушку возбуждения возникают силы магнитного притяжения между ведущей и ведомой частями (принцип синхронной машины с постоянными магнитами).

в) Гистерезисные муфты, в которых связь между ведущей и ведомой частями создается за счет явления гистерезиса при перемагничивании магнитотвердого материала (принцип синхронной гистерезисной машины).

Независимо от принципа действия любая из этих муфт является преобразователем механической мощности на входе в механическую мощность на выходе муфты.

В системах автоматизации и управления принципиально могут использоваться все отмеченные выше муфты. Принцип работы индукционных муфт мало отличается от принципа работы соответствующих электрических двигателей. Поэтому более подробно рассмотрим весьма широко распространенные электромагнитные фрикционные и ферропорошковые муфты с электромагнитным управлением.

Ферропорошковые муфты с электромагнитным управлением. Электромагнитная порошковая муфта позволяет осуществлять либо жесткое соединение ведущей и ведомой частей муфты, либо проскальзывание ведомой части относительно ведущей. Это дает возможность регулировать частоту вращения приводного механизма при неизменной частоте вращения приводного двигателя.

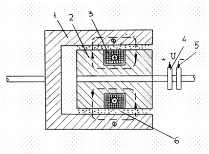
Рис.7.5

На рис.7.5 представлена конструктивная схема электромагнитной порошковой муфты. Ведущая 1 и ведомая 2 части муфты представляют собой стальные цилиндры и служат магнитопроводами. В кольцевом пазу ведомой части расположена обмотка возбуждения 3, которая через контактные кольца 4 и щетки 5 подключена к источнику постоянного тока U. Зазор между ведомой и ведущей частями муфты заполняется наполнителем 6, представляющим собой сухую или жидкую ферромагнитную смесь. Жидкая смесь состоит из ферромагнитного порошка и жидкой масляной основы. Соотношение между порошком и маслом обычно составляет 5:1. Сухая ферромагнитная смесь состоит также из ферромагнетика, а в качестве связующего вещества используются графит или тальк.

Принцип работы порошковой муфты заключается в следующем. При подаче постоянного напряжения U на обмотку возбуждения возникает ток, который создает поток возбуждения ?. Проходя через зазор поток намагничивает ферромагнетик. Намагниченные частицы ферромагнетика образуют магнитные цепочки, расположенные вдоль силовых линий магнитного поля. Эти цепочки соединяют силами притяжения ведущую и ведомую части муфты. Сила сцепления частей муфты и создаваемый электромагнитный момент тем больше, чем больше ток протекает через обмотку возбуждения порошковой муфты. При больших токах возбуждения наступает магнитное насыщение материала и постепенно прекращается нарастание сил сцепления, а следовательно, и электромагнитного момента. Таким образом, воздействуя электромагнитным полем на слой порошка, можно соединить ведущую и ведомую части муфты либо жестко, либо с проскальзыванием. Порошковые муфты по конструкции бывают не только цилиндрические, но и дисковые.

Электромагнитные фрикционные муфты. К управляемым муфтам с силовым замыканием механической связи относятся муфты трения, или фрикционные. Эти муфты допускают соединение двигателя с производственным механизмом во время движения (на ходу) и под нагрузкой. Конструкция таких муфт может быть выполнена с одним или несколькими дисками, с цилиндрическими или коническими поверхностями трения.

Принцип действия электромагнитных фрикционных муфт состоит в том, что две поверхности трения прижимаются друг к другу силой, создаваемой электромагнитом. Как правило, вращающий момент, передаваемый фрикционной муфтой, имеет постоянную величину и не регулируется изменением тока в обмотке управления. Коэффициент усиления по мощности таких муфт, т.е. отношение передаваемой мощности к мощности управления, достигает 30 и более.

Мощность управления фрикционных муфт зависит от коэффициента усиления по мощности. Обычно для муфт средней величины она составляет несколько десятков ватт, а это значит, что схемы управления такими муфтами могут быть осуществлены на современных интегральных схемах.

Назад | Оглавление | Вперед
+7(985)928-61-99 Москва, ул.Большая Переяславская, д.9