|
Содержание Главная (библиотека) Предыдущий § Следущий
5-12. Специальные машины постоянного тока
Здесь рассматриваются специальные машины постоянного тока, имеющие наиболее важное значение в теоретическом и практическом отношениях. По схемам соединения их обмоток, а иногда и по конструкции они отличаются от нормальных машин. Большинство же машин постоянного тока, используемых для специальных целей, от нормальных машин не отличаются.
а) Униполярные машины. Идея униполярной машины должна быть понятна из рассмотрения рис. 5-69. Можно себе представить, что изображенный здесь диск со-
 Рис. 5-69. К пояснению идеи униполярной машины дискового типа
стоит из очень большого числа проводников в виде секторов S. Каждый из них при вращении все время будет находиться в поле одной и той же полярности; следовательно наведенная в нем э. д. с. все время будет направлена в одну сторону. При выбранных направлениях поля и вращения она всегда направлена от центра к периферии диска.
При вращении диска на смену одним проводникам будут приходить в соприкосновение со щетками другие проводники и мы будем получать постоянный ток.
По типу этой дисковой униполярной машины проф. Б. И. Угримовым (1906 т.) был спроектирован и построен униполярный генератор на 10000 а, 10 в при 10000 об/мин Однако такой генератор работал неудовлетворительно, так как не удалось преодолеть затруднения, связанные с выполнением надежных контактов щеток с диском на его периферии где скорость доходила до 170 м/сек. К его недостаткам надо также отнести необходимость применения специальных подшипников (например, гребенчатых), которые могли бы удовлетворительно работать при больших осевых усилиях. Последние обусловлены односторонним магнитным притяжением из-за неизбежного различия зазоров между полюсами и вращающимся диском.
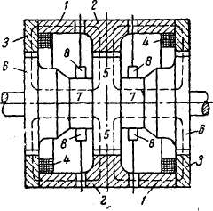
Кроме указанной униполярной машины дискового типа, в СССР были построены униполярные машины цилиндрического типа. Одна из них системы инж. Б. В. Костина (1939 г.) показана на рис. 5-70. Здесь также большие затруднения создавались при выполнении надежных щеточных контактов. К тому же машина требовала большой затраты материалов и в этом отношении не имела преимущества по сравнению с коллекторными машинами.
После надлежащих усовершенствований, главным образом в отношении щеточных контактов и их охлаждения, униполярные машины цилиндрического типа могут найти себе применение там, где требуется постоянный ток в десятки тысяч ампер при низких напряжениях— порядка 6—10 в.
 Рис. 5-70. Униполярная машина цилиндрического типа системы инж. Б. В. Костина. 1 - чугунный или стальной статор, имеющий форму цилиндра; 2 - полюсы машины; 3 - кольцевые выступы по боим статора; 4 - катушки обмотки возбуждения; 5 и 6 - кольцевые выступы на роторе; 7 - цилиндрические части ротора, на которые накладываются щетки 8.
 В ЭМУ поперечного поля получается двухступенчатое усиление мощности, причем здесь коэффициент усиления ky может иметь очень высокие значения. Однако на практике он не превышает 10000.
Весьма ценным свойством ЭМУ поперечного поля является его малая «инерционность» и, следовательно, быстроотзывчивая реакция на изменение мощности, поступающей в обмотки управления. Эти обмотки имеют малые индуктивности в соответствии с малым потоком, создаваемым ими, и относительно большие омические сопротивления. Индуктивность обмотки якоря также относительно невелика.
В настоящее время ЭМУ поперечного поля изготовляются на мощности от десятых долей киловатта до нескольких десятков киловатт. Область их применения весьма обширна. Они применяются там, где необходимо управлять большими мощностями путем изменения малой мощности: например, для питания относительно мощных исполнительных двигателей. Большое распространение они получили в качестве вспомогательных машин для различных электроприводов, где позволяют получать автоматически наиболее благоприятные характеристики приводного двигателя.
д) Исполнительные двигатели постоянного тока. Довольно часто для автоматических устройств в качестве исполнительных двигателей применяются дви-
 Если напряжение управления подводится к обмотке возбуждения при постоянном напряжении на зажимах якоря, то получается исполнительный двигатель с полюсным управлением. Такие двигатели находят себе ограниченное применение и строятся обычно на малые мощности. Они уступают двигателям с якорным управлением в отношении быстродействия, так как обмотка возбуждения имеет значительно большую постоянную времени, чем цепь якоря. Однако для них требуется меньшая мощность управления.
Содержание Главная (библиотека) Предыдущий § Следущий
|