|
Содержание Главная (библиотека) Предыдущий § Следущий
3-21. Работа трехфазного двигателя при неноминальных условиях
Условия работы двигателя могут отличаться от номинальных, т. е. от тех условий, для которых он предназначен.
На практике напряжение на его зажимах часто отличается от номинального: U1 ≠ U1н. Могут быть случаи, когда f1 ≠ f1н. Иногда к двигателю подводятся несимметричные напряжения, если, например, нагрузка сети, к которой он приключен, распределена по фазам неравномерно. Напряжения на зажимах двигателя могут быть также несинусоидальными, если большую часть нагрузки сети составляют нелинейные сопротивления, например выпрямители. Поэтому исследование работы двигателя при указанных неноминальных условиях имеет важное практическое значение.
Мы здесь рассмотрим также работу двигателя при неравных сопротивлениях фаз его роторной обмотки, что может быть вызвано ухудшением переходных контактов между кольцами и щетками или дефектами, допущен-
 
 
 Рис. 3-73. Приближенная схема для определения тока обратной последовательности.

 
Рис. 3-74. Определение токов фаз по их симметричным составляющим.
 Рис. 3-75. К определению направления момента M2 от обратного поля.
 

Рис. 3-76. Схема двигателя с неравными сопротивлениями фаз ротора.
 

Рис. 3-77. Схема замещения, соответствующая токам прямой последовательности ротора.
 Уравнениям (3-194) соответствует схема замещения для напряжений и токов прямой последовательности, представленная на рис. 3-77.
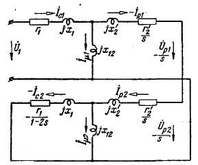
Уравнения напряжений ротора и статора обратной последовательности имеют следующий вид:
 
Рис. 3-78. Схема замещения, соответствующая токам обратной последовательности ротора.
 Рис. 3-79. Схема двигателя при одноосном включении обмотки ротора.
 Рис. 3-80. Схема замещения двигателя при одноосном включении обмотки ротора.
 
Рис. 3-81. Агрегат из двух асинхронных машин, соответствующий схеме рис. 3-80.
 
Рис. 3-82. Упрощенная схема замещения двигателя при одноосном включении обмотки ротора.
 
 
Содержание Главная (библиотека) Предыдущий § Следущий
|