|
Содержание Предыдущий § Следующий
Глава тридцать первая АСИНХРОННЫЕ МИКРОМАШИНЫ АВТОМАТИЧЕСКИХ УСТРОЙСТВ
§ 31-1. Асинхронные исполнительные двигатели и тахогенераторы
Асинхронные исполнительные двигатели [7-11, 60, 61] широко применяются в системах автоматического управления. Они представляют собой асинхронные двигатели небольшой мощности (0,1—300 вт) с двухфазной обмоткой статора и короткозамкнутым ротором (рис. 31-1). Одна из обмоток статора называется обмоткой возбуждения (В) и находится под постоянным напряжением £/в, а вторая называется обмоткой управления (У) и питается напряжением Uv, величина
 Рис. 31-1. Схемы включения асинхронных исполнительных двигателей
(рис. 31-1, а я б) или фаза (рис. 31-1, в) которого изменяются под воздействием управляющего сигнала. В первом случае управление называется а м плп л т у д -н ы м, а во втором — фазовым. В обоих случаях напряжения UB и Uy сдвинуты по фазе, в результате чего двигатель способен развивать вращающий момент.
Обычно к исполнительным двигателям предъявляются следующие требования: 1) отсутствие самохода, т. е. необходимость самоторможения и остановки двигателя при снятии 'напряжения управления Uy; 2) устойчивая работа во всем диапазоне скоростей вращения; 3) изменение скорости вращения в широком диапазоне при изменении величины или фазы напряжения управления; 4) близкие к линейным механические {М = / (п) при J/y — const) и регулировочные (п — f {Uy) при М = const) характеристики; 5) большая величина пускового момента; 6) малая мощность управления; 7) быстродействие; 8) надежность в работе; 9) малые габариты и вес.
Исполнительные двигатели строятся с таким расчетом, что круговое вращающееся поле в них возникает только при пуске. Это способствует получению большого пускового момента. Отсутствие самохода, устойчивая работа и линейность характеристик достигаются выбором активного сопротивления ротора настолько большим, что критическое скольжение sm = 3 ■*• 4. При этих условиях кривые моментов прямой последовательности Мг и обратной последовательности Ма имеют вид, изображенный на рис. 31-2. Из рисунка видно, что при
снятии напряжения управления, когда токи прямой и обратной последовательности равны (см. § 30-1), результирующий момент М = Мх + М2 в рабочем диапазоне скольжений (0 < s < 1) становится отрицательным, и поэтому при £/у= 0
ротор исполнительного двигателя, в отличие от нормального двигателя при работе в однофазном режиме (см. § 30-1), останавливается. Вместе с тем, увеличение сопротивления ротора исполнительного двигателя приводит к снижению
его номинальной мощности при
тех же габаритах в два-три раза. Вид механических и регулировочных характеристик асинхронных исполнительных двигателей при амплитудном управлении показан на рис. 31-3.
Асинхронные исполнительные двигатели имеют следующие разновидности конструкции ротора: 1) с обмоткой в виде беличьей клетки, 2) полый немагнитный ротор и 3) полый ферромагнитный ротор. Двигатель с полым немагнитным ротором (рис. 31-4) имеет внешний и внутренний статоры из листовой электротехнической стали, между которыми вращается тонкостенный (0,2—1,0 мм) ротор из алюминиевого сплава, имеющий форму стаканчика. Двухфазная обмотка обычно располагается на внешнем статоре. Двигатель с полым ферромагнитным ротором не имеет внутреннего статора, так как роль магнитопровода выполняет сам ротор. Для улучшения технических показателей двигателя иногда внешнюю цилиндрическую поверхность ферромагнитного ротора или его днища (торцевые пробки) покрывают медью.
Двигатели с полым немагнитным ротором имеют малую механическую инерцию и поэтому обладают большим быстродействием. Однако величина немагнит-
Рис. 31-4. Устройство асинхронного исполнительного двигателя с полым немагнитным ротором
/ — внешний статор; 2 — внутренний статор;
3 — обмотка; 4 — подшипниковые щиты; 5 — вал;
6 — корпус; 7 — полый ротор

ного зазора магнитной цепи, между внешним и внутренним статорами, у них получается большой (0,5—1,5 мм), что приводит к уменьшению к. п. д. и коэффициента мощности и к увеличению габаритов и веса. Из-за последних двух факторов в ряде случаев преимущество этих двигателей в быстродействии теряется. Эти двигатели также менее надежны в работе, чем двигатели с беличьей клеткой.
Двигатели с полым ферромагнитным ротором имеют весьма большое активное сопротивление ротора, и поэтому их к. п. д. еще ниже, чем- у двигателей с полым немагнитным ротором.
Наиболее часто применяются двигатели с беличьей клеткой и полым немагнитным ротором. Исполнительные двигатели изготовляются на номинальные частоты 50—1000 гц.
В некоторых системах автоматического управления используются управляемые двигатели, роторы которых не вращаются, а лишь поворачиваются в пределах некоторого небольшого угла. Воздействие этих двигателей на управляемый
Рис. 31-5. Схема (а) асинхронного тахогенератора и распределение в роторе токов трансформации (б) и вращения (в)
объект зависит от величины развиваемого ими вращающего момента, и такие двигатели называются моментными. Величина их момента также зависит от напряжения обмотки управления.
Асинхронные тахогенераторы. Тахогенераторы переменного тока можно выполнить в виде небольших синхронных генераторов, величина э. д. с. которых при постоянном потоке возбуждения попорциональна скорости вращения. Однако такие тахогенераторы имеют переменную частоту, что является их существенным недостатком. В связи с этим применяются асинхронные тахогенераторы (рис. 31-5), устройство которых вполне аналогично устройству исполнительного двигателя с полым ротором.
Обмотка возбуждения В тахогенератора питается от сети переменного тока с / = const и создает пульсирующий поток Фв. При неподвижном роторе (рис. 31-5, б) этот поток индуктирует в роторе э. д. с. трансформации, в результате чего в роторе возникают токи, которые создают магнитный поток, действующий по оси обмотки возбуждения. Этот поток с сигнальной обмоткой С не сцепляется, так как эта обмотка сдвинута относительно обмотки В на 90°. Поэтому при л = 0 напряжение сигнальной обмотки Uc = 0. При вращении ротора в нем индуктируется также э. д. с. вращения, в результате чего в роторе возникает также Другая система токов (рис. 31-5, в), которая создает поток Фс, сцепляющийся с сигнальной обмоткой. Этот поток пульсирует с частотой тока возбуждения, величина его пропорциональна и, и в обмотке С индуктируется э. д. с. Ес ~ я. К этой обмотке присоединяется нагрузка в виде измерительного прибора или элемента системы автоматического регулирования.
§ 31-2. Вращающиеся трансформаторы
Вращающиеся, или поворотные, трансформаторы [7—11] применяются в автоматических и счетно-решающих устройствах для получения напряжений переменного тока, пропорциональных синусу и косинусу угла поворота а ротора трансформатора или пропорциональных самому углу поворота.
По своей конструкции вращающийся трансформатор подобен асинхронному двигателю с фазным ротором и имеет на статоре и роторе симметричные двухфазные обмотки со сдвигом в пространстве на 90° эл. (рис. 31-6). Концы обмотки ротора выводятся наружу с помощью щеток или при ограниченном угле поворота также с помощью гибких проводников.
Вследствие сдвига обмотки на 90° эл. взаимная индуктивность между фазами обмотки статора, как и между фазами обмотки ротора, равна нулю. В то же время
взаимная индуктивность между фазами обмоток статора и ротора должна с возможно большей точностью меняться в зависимости от угла а по синусоидальному закону. Для этого стремятся
   Рис. 31-6." Схема соединений синусно-коси-нусного вращающегося трансформатора
Рис. 31-7. Схемы соединений линейного вращающегося трансформатора
к тому, чтобы- формы кривых магнитных полей обмоток были по возможности ближе к синусоидальной и э. д. с, индуктируемые высшими пространственными гармониками поля, были минимальны. Жесткие требования предъявляются к точности изготовления и качеству магнитопровода. Нередко применяются синусные обмотки (см. § 22-4). В ряде случаев максимальная погрешность воспроизведения функций sin os и cos а не превышает 0,02—0,03%
Обмотка статора 1с (рис. 31-6) является обмоткой возбуждения и приключается к сети переменного тока со стабилизированным напряжением. Поток возбуждения, создаваемый этой обмоткой, индуктирует в обмотке ротора 1р э. д. с, пропорциональную sin a, a в обмотке 2р — э. д. с, пропорциональную cos а. При подключении к одной или обеим обмоткам ротора нагрузки в них возникают токи, создающие в машине вторичное магнитное поле. Индуктируемые этим полем э. д. с. могут исказить синусную и косинусную зависимости вторичных напряжений от угла поворота. Во избежание этого необходимо иметь в цепях вторичных обмоток равные сопротивления нагрузки ZHr.p2= %нт.р1 либо замкнуть вторичную обмотку статора 2с на сопротивление ZK. c, величина которого равна внутреннему сопротивлению источника питания обмотки 1с. В обмотке
2с при этом индуктируется ток, который компенсирует вторичный магнитный поток, действующий перпендикулярно оси обмотки возбуждения. Указанные мероприятия называются соответственно вторичным и первичным симметрированием вращающегося трансформатора.
Схемы для получения на сопротивлении нагрузки Zm напряжения, изме,-няющегося линейно в функции угла поворота ротора, изображены на рис. 31-7. При соответствующем подборе величин сопротивлений ZK.C или ZK.p линейная зависимость этого напряжения достигается в пределах 0 < а < 60°.
Вращающиеся трансформаторы применяются также для определения (по величинам напряжений вторичных обмоток) гипотенузы прямоугольного треугольника по заданным его катетам или для определения одного катета по заданным гипотенузе и другому катету. Аналогично находится также величина некоторого вектора по его составляющим и наоборот. Выходные напряжения трансформатора подаются на входные элементы системы автоматического регулирования.
В последнее время изготовляются также вращающиеся трансформаторы с печатными обмотками, расположенными на дискообразных или цилиндрических поверхностях статора или ротора. Такие обмотки, выполняемые подобно печатным радиомонтажным схемам, позволяют избежать погрешностей, связанных с зубчатым строением статора и ротора обычного вращающегося трансформатора и пр.
§ 31-3. Однофазные сельсины
Сельсины (сокращение, происшедшее от английского слова selfsynchroni-zing — самосинхронизирующийся) применяются чаще всего- для синхронного поворота или вращения двух или нескольких осей, не связанных друг с другом .механически, а также для некоторых дру-~ гих целей.
Однофазные сельсины чаще всего имеют следующее устройство (рис. 31-8). На явно-выраженных полюсах статора расположена сосредоточенная обмотка возбуждения В, а в пазах цилиндрического ротора — три распределенные обмотки синхронизации С, которые сдвинуты относительно друг друга в пространстве на 120° эл. и вполне аналогичны трехфазной обмотке нормальной машины переменного тока. Обмотки ротора соединяются с внешними цепями с помощью контактных колец и щеток. Сердечники статора и ротора собраны из листовой электротехнической стали.
Рассмотрим работу однофазных сельсинов.
В-индикаторном режиме работы (рис. 31-8) один сельсин-датчик Д управляет работой одного или нескольких сельсинов-приемников П. Обмотки возбуждения В этих сельсинов включаются в общую сеть, а обмотки синхронизации С соединяются друг с другом, как показано на рис. 31-8. Пульсирующее поле возбуждения индуктирует э. Д. с. в «фазах» обмоток синхронизации. Если углы поворота соответствующих фаз датчика р"д и приемника р"п пвотношению к осям полюсов одинаковы (р"д = р\,), то э. Д. с. соединенных друг с другом «фаз» обмоток синхронизации также одинаковы:
 Рис. 31-8. Схемы включения однофазных сельсинов при индикаторном режиме работы
и направлены встречно. При этом в обмотках синхронизации не возникает никаких токов и электромагнитные моменты сельсинов равны нулю. Если же роторы сельсинов будут занимать неодинаковое положение и поэтому так называемый угол рассогласования
будет не равен нулю, то указанные выше равенства э. д. с. нарушатся, в обмотках синхронизации возникнут токи и на роторы сельсинов будут действовать электромагнитные моменты Мя и Мп. Более подробный анализ этого вопроса показывает, что моменты датчика и приемника имеют разные знаки и оба действуют в направлении уменьшения угла рассогласования Др. Если бы момент сопротивления на валу сельсина-приемника был равен нулю, то ДР = 0 и ротор
 Рис. 31-9. Устройство бесконтактного сельсина
этого сельсина в точности воспроизводил бы движения ротора сельсина-датчика, притом не^только в режиме медленного поворота ротора, но и при его вращении с определенной скоростью. В действительности на ротор сельсина-приемника действуют определенные, хотя и небольшие тормозные моменты. Это моменты от трения в подшипниках, на контактных кольцах и о воздух в сельсине, а также небольшой момент сопротивления механизма, соединенного с валом сельсина-приемника (стрелка или шкала указательного прибора — индикатора, движок небольшого реостата и др.). Поэтому всегда существует небольшая ошибка ДР в передаче угла. Некоторая ошибка возникает также в результате различных неточностей в изготовлении сельсинов, зубчатого строения их ротора и т. д. Сельсины различных классов точности имеют максимально допустимые значения углов рассогласования (ошибок) в пределах 0,25—2,5°. Максимальный момент сельсинов-приемников обычно находится в пределах 200—2000 гс-см.
Используются также другие схемы включения и режимы работы сельсинов [7-11,62].Н
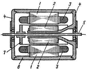
Бесконтактные сельсины (рис. 31-9), предложенные А. Г. Иосифьяном и А. Б. Свечарником в 1938 г., имеют то преимущество, что отсутствие скользящих щеточных контактов увеличивает надежность работы сельсинов и уменьшает их погрешности в#мду уменьшения потерь на трение. В таких сельсинах обе обмотки размещаются на статоре /, а ротор 3 не имеет обмоток. Обмотки синхронизации 5 этого сельсина располагаются на статоре, который по своей конструкции аналогичен статору асинхронного двигателя. Обмотка возбуждения 2 имеет вид кольцевых коаксиальных катушек, охватывающих ротор. Особенностью уст-
ройства ротора является то, что он имеет немагнитную часть 4, благодаря чему полюсы ротора в магнитном отношении разделены и поток Ф направляется из одного полюса ротора через неподвижный внешний магнитопровод 6 в другой полюс ротора и через ротор в статор. В результате этого при неподвижной обмотке возбуждения удается получить в воздушном зазоре между ротором и статором магнитное поле такого же вида, как и в обычном сельсине.
Бесконтактные сельсины получили значительное распространение, однако их недостатками являются: 1) усложнение конструкции, 2) удвоенная величина воздушных зазоров в магнитной цепи, 3) повышенные размеры и вес.
Сельсины также изготовляются для работы при / = 50 -5- 1000 гц.
Содержание Предыдущий § Следующий
|