|
Содержание Предыдущий § Следующий
9.6. Расчет превышений температуры *
В установившемся режиме вся теплота, выделяющаяся в машине, отводится в атмосферу из-за того, что температура частей машины выше, чем температура окружающего воздуха. Если изолированная медная катушка охлаждается со всех сторон равномерно (рис. 9.15, а), то теплота, выделяющаяся в меди, равномерно отводится в окружающую среду через поверхность катушки S. При этом поверхность катушки имеет превышение температуры над температурой окружающей среды
Рис. 9.15. Сечение медной катушки и направление теплового потока (а) и электрическая схема замещения (б)
а медь имеет превышение температуры над температурой поверхности катушки
 * Используются методики А. Е. Алексеева и А. Б. Иоффе.
    Превышение температуры меди над температурой окружающей среды
Величина q называется удельным тепловым потоком или плотностью теплового потока. Теплопроводность Л можно представить в виде
где р — толщина изоляции; X — удельная теплопроводность.
Значения удельной теплопроводности приведены в табл. 9.4. Из таблицы видно, что изоляция обладает малой теплопроводностью и поэтому, несмотря на ее малую толщину, перепад температур в ней достаточно велик. Обычно он составляет 1О...2О°С.
Коэффициент теплоотдачи с поверхности /гто в спокойном воздухе составляет примерно 15 Вт/(м2-град), и может увеличиваться в 3.. 5 раз в зависимости от скорости охлаждающего воздуха (см. рис. 9.3).
В соответствии с этим плотность теплового потока (если перегрев примерно 100°С) допускается примерно 1000 Вт/м2 при интенсивном охлаждении. Более точные тепловые расчеты производятся в соответствии с приведенной ниже зависимостью X, Вт-см/(м2Х Хград), от материала:
Медь......................... 3-Ю4
Алюминий...................... 2-Ю4
Сталь........................ 6,3-103
Стекло........................ ПО
Слюда........................ 36
Лакоткань...................... 21
Миканит....................... 12
Изоляция пазов или катушек, пропитанная лаком ... 10
С учетом того, что поверхность имеет различные kT0 (из-за различного охлаждения), имеются разветвления тепловых потоков на несколько частей и т. п.
Один из наиболее распространенных методов расчета — метод тепловых схем замещения.
Уравнение (9.47) можно представить в виде
где #а=1/(&то5) и /?р=р/(7,5) — тепловые сопротивления.
Для формулы (9.49) справедлива эквивалентная электрическая схема (рис. 9.15,6), если приравнять тепловое сопротивление электрическому, тепловой поток — току, а превышение температуры т эквивалентно ЭДС.
При наличии вентиляции нагревание катушек статора мало влияет на температуру обмотки якоря и наоборот. Поэтому расчет нагревания полюсов и якоря производится отдельно.
Расчет нагревания катушек главных полюсов. Сначала рассмотрим случай, когда на статоре нет никаких обмоток, кроме обмоток главных полюсов (рис. 9.16). Теплота, выделяющаяся в меди об-
мотки Qcu, отводится от поверхности катушки, омываемой воздухом (поток Qj), и частично передается станине (Q2):
От станины теплота отводится и с внутренней и с внешней поверхностей.
Кроме потерь в меди обмоток имеются поверхностные потери в сердечниках главных полюсов Qrn, которые отводятся в атмосферу вместе с потоком <2г-
  Электрическая схема замещения процесса теплоотвода у катушек главных полюсов показана на рис. 9.17, где тепловые сопротивления имеют значения: /?Pi ===== р/(Я-Si); Si — площадь поверхности катушки, омываемой охлаждающим воздухом; #в2=(У(^>2); ^2 — площадь поверхности катушки, соприкасающейся с сердечником и станиной; Ri = \/(kTOiSl); /?2= 1/(£то2«$з); ^з — площадь внутренней поверхности станины и главных полюсов, охлаждаемой воздухом; /?з= 1/ (^to3«S4) ; 54 — площадь внешней поверхности станины, охлаждаемой воздухом.
При составлении схемы замещения не учтены перепады температуры в сердечниках полюсов и в станине, так как теплопроводность стали сравнительно высока.
Расчет превышения температуры обмоток главных полюсов имеет невысокую точность из-за того, что коэффициенты теплоотдачи поверхности катушки и станины неопределенные, так как зависят от скорости соприкасающегося воздуха, а эта скорость различна для различных частей статора. Кроме того, конструкция катушки не является, как правило, монолитной. Всякого рода пустоты, недостаточно хорошо заполненные лаком, отставание покровной изоляции на боковых поверхностях и другие причины приводят к появлению воздушных мешков и делают условия расчета неопределенными.
Поэтому значения тепловых сопротивлений должны рассчитываться с учетом результатов, полученных для предшествующих машин сходной конструкции, выполненных по той же технологии.
 Рис. 9.16. К расчету нагревания
Рис. 9.17. Полная (а) и упрощенная (б) электрические схемы замещения теплоотво-да катушек главных полюсов
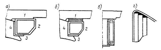
Общие закономерности по введению поправочных коэффициентов рассмотрим на примере конструкций катушек, показанных на рис. 9.18. Поверхности 3 и 4, прилегающие к полюсу, плотно прижаты к нему и поэтому тепловое сопротивление в этих местах невелико. Изоляция поверхности 2 имеет тенденцию к отставанию, что особенно резко сказывается при высоких катушках (рис. 9.18, в). Тепловое сопротивление для поверхности 2 при расчете должно быть увеличено в 2... 3 раза. Теплоотдача через поверхность /
Рис. 9.18. Конструкции катушек главных и добавочных полюсов
сильно зависит от конструкции крепления катушки. При креплении с помощью пружинного фланца (рис. 9.18, а) добавочное тепловое сопротивление почти полностью отсутствует. При креплении катушки с помощью пружинной рамки (рис. 9.18,6) тепловое сопротивление сильно возрастает, так как в этом случае имеются дистанционные прокладки из электрокартона (3...5 мм толщиной) и небольшой воздушный зазор между катушкой и пружинной рамкой. В связи с этим тепловое сопротивление возрастает в 3...5 раз. Аналогичное явление происходит и в крупных двигателях с последовательным возбуждением при круглой станине (рис. 9.18, г).
Влияние пульсационных потерь на превышение температуры обмотки обычно невелико из-за их малости; если ими пренебречь, то превышение температуры можно определять по упрощенной схеме замещения (см. рис. 9.17,6):

где рвит — толщина витковой изоляции; т — число слоев в рассматриваемом направлении.
При наличии на статоре и главных и добавочных полюсов тепловая схема имеет вид, представленный на рис, 9.20. На этой схеме учитывается наличие двух источников тепловых потоков главных и добавочных полюсов Qrn, Qan соответственно. Часть этих потоков Qrni и <2дп1 отводится непосредственно в воздух; а часть QrD2
Рис. 9.19. Температурное поле ка-тушки
Рис. 9.20. Тепловая схема для катушек главных и добавочных полюсов
и <2Дп2 передается станине, от которой отводится в окружающую среду через внутреннее и наружное сопротивления RBB и /?Нар-
Превышения температур обмоток главных и добавочных полюсов тгп и тДп находятся из схемы замещения 9.20 после определения тепловых сопротивлений, аналогично тому, как это было показано выше.
Нагревание обмотки якоря. При определении нагревания якоря можно выделить три его части: коллектор, лобовые соединения и часть обмотки, находящуюся в пазах.
Экспериментальные исследования показали, что наиболее сильно нагревается медь, лежащая в пазах якоря, лобовые соединения охлаждаются несколько лучше. Коллектор влияет на нагревание обмотки мало и его наличие при расчете температуры обмотки якоря обычно не учитывают. Значительная часть теплоты из обмотки якоря переходит в сталь якоря и совместно с потерями в стали выводится через внешнюю поверхность стали якоря и вентиляционные каналы. При малых нагрузках возможна и обратная картина: часть потерь в стали переходит в медь и рассеивается обмоткой.
Расчет превышения температуры производится по тепловой схеме замещения якоря (рис. 9.21).
На тепловой схеме якоря Qcu и Qfb — тепловые потоки, равные потерям в меди и стали соответственно;
 
Скорости va и и„ент направлены друг к другу под углом, меньшим 90° и поэтому
Теплота от якоря отводится вентилирующим воздухом, который в машине подогревается и имеет некоторое среднее превышение температуры твент над температурой окружающего воздуха. С учетом подогрева вентилирующего воздуха среднее превышение температуры обмотки якоря над температурой окружающей среды
т = тСи + твент. (9.63)
Значение Твент в зависимости от количества вентилирующего воздуха и суммарных потерь можно определить по рис. 9.22.
Определение максимально нагретой точки обмотки. В обмотках главных и дополнительных полюсов
Рис. 9.22. Зависимость подогрева вентилирующего воздуха от объема воздуха
различие в температуре отдельных частей обмотки невелико и обычно считают, что максимальная температура меди равна средней.
В якоре различие в температуре отдельных частей обмотки более заметно (рис. 9.23), особенно при односторонней осевой вентиляции. В первую очередь нужно учитывать максимальную температуру вентилирующего воздуха:
*вгаах~2Твент. (9.64)
Так как наиболее нагретая точка обмотки находится обычно в пазовой части, максимальное превышение температуры можно оп-
 Рис. 9.23. Диаграммы превышения температуры обмотки и воздуха при односторонней осевой (а) и двусторонней (б) вентиляции
ределить по тепловой схеме рис. 9.24, которая построена в предположении, что не производится отсоса теплоты лобовыми соединениями. В схеме рис. 9.24 Q'cu — полные потери в меди (включая

Экспериментально температура обмоток электрических машин обычно определяется по значению среднего омического сопротивления; температура коллектора измеряется термометром или специальной термопарой.
Содержание Предыдущий § Следующий
|