|
Содержание Предыдущий § Следующий
ГЛАВА ЧЕТВЕРТАЯ
РЕМОНТ ЯКОРНЫХ И РОТОРНЫХ ОБМОТОК.
РЕМОНТ ОБМОТОК ВОЗБУЖДЕНИЯ
4-1. ОБМОТКИ ЯКОРЕЙ
Секция, укладка, нумерация
Обмотка якоря составляется из секций,
имеющих один виток или несколько последовательно соединенных витков. Секции
(витки) имеют активные стороны,

Рис. 4-1. Элементы обмотки якоря.
которые закладываются в пазы и
соединяются при помощи лобовых частей: передней со стороны коллектора и
задней со стороны привода (рис. 4-1).
Соединение секции производится впайкой
их концов в коллекторные пластины. На каждую секцию приходится одна
коллекторная пластина.
Укладка секций в пазы производится
таким образом, что одна сторона ее лежит в верхней половине одного паза, а
вторая — в нижней половине второго паза. В каждом пазу образуются два слоя,
отчего обмотка называется двухслойной. В одном слое в пазу может располагаться
одна, две, три и более секционных сторон (рис. 4-2).
Нумерация секционных сторон
производится так, что все секционные стороны, лежащие в верхней половине паза,
имеют нечетные номера, а в нижней — четные, или наоборот.
Шаг секции. Шагом секции Fi
называется расстояние между ее активными сторонами (рис. 4-1). Шаг выражается
числом пазовых делений Yia или числом секционных сторон Y\c,
лежащих между сторонами секции.
Шаг секции должен быть близок к
полюсному делению машины. Поясним это положение на следующем
примере: машина имеет 37 пазов (2 = 37)
и четыре полюса (2р = 4). Полюсное деление в числе пазов будет
37 п 1 „,
выражаться величиной 2г-т-=У-т-. Секция
должна быть
уложена одной стороной в паз 1,
а второй либо в паз 10, тогда шаг секции будет равен 9 и укорочен на 'Д
пазового деления, либо в паз 11; шаг секции в этом случае будет равен 10
и удлинен на 3U пазового деления. Укорочение шага более
желательно, так как при этом лобовые части получаются короче и экономится медь.
Если бы машина имела 40 пазов, то
полюсное деление содержало бы 10 пазовых делений и секцию можно было бы положить
в пазы 1 и 1 + 10=11. Такая обмотка называется диаметральной. Однако эта обмотка
ухуд-
Рис. 4-2. Расположение проводников в пазу.
шает коммутацию и вызывает искрение на
коллекторе, что ограничивает ее применение, поэтому следует укоротить шаг секции
на одно пазовое деление, т. е. положить ее в пазы / и 10. Вообще
желательно применять укорочение шага в пределах до одного пазового деления.
Рис. 4-3. Соединение проводников
обмотки.
Из приведенных примеров ясен способ
определения шага Ущ. выраженного числом пазовых делений.
Для того чтобы выразить его числом
секционных сторон, лежащих между сторонами секции, достаточно определить,
сколыко секционных сторон лежит в каждом пазу. Если машина имеет К
коллекторных пластин, то
столько же имеется и секций. На паз
придется и—-—
Z
пластин или секций, а секционных сторон
в 2 раза больше, т. е. 2а. Поэтому, если умножить шаг Yin в
пазовых делениях на 2м и прибавить единицу, то мы получим шаг Yic, выраженный в
секционных сторонах. Прибавление единицы делается для того, чтобы получить
нечетный шаг и тем самым достичь перехода из верхнего слоя в нижний. Если в
нашем примере число коллекторных
1 О [-
пластин К равняется 185, то на
паз приходится 2.-^=- = 10
секционных сторон. Если шаг У1ш
равен 9 пазовым делениям, то в секционных сторонах он составит:
Секция в этом случае расположится так,
как показано на рис. 4-3,а. Характерным здесь является то, что секция лежит
первой в пазу 1 и первой же она является в пазу 10. Таким образом,
четыре соседние с ней секции также будут лежать в пазах / и 10.
Следовательно, шаг по пазам будет для всех пяти секций одинаковым и все пять
секций могут быть до укладки в пазы заизолированы вместе и вместе уложены.
Группа изолированных вместе секций обмотки называется якорной секцией или
якорной катушкой.
В некоторых случаях для улучшения
коммутации применяется ступенчатая обмотка, у которой секции имеют разный шаг по
пазам (рис. 4-3,6). Такая обмотка состоит из отдельных полусекций, соединяемых
пайкой в лобовых частях.
Рассмотрим способы выполнения обмоток.
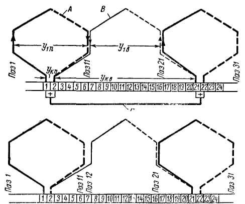
Петлевая обмотка
Для этой обмотки (рис. 4-4,а)
характерно то, что при соединении между собой сторон первой секции шаг У]
(задний) отсчитывается в одном направлении, а для соединения конца этой секции с
началом второй секции шаг У2 (передний) отсчитывается в обратном
направлении, почему первая сторона второй секции ложится рядом с первой стороной
первой секции. Этот обратный шаг придает обмотке петлеобразный характер.
Таким образом, каждая последующая
секция ложится рядом с предыдущей, и полный шаг Уо, показывающий,
насколько смещаются первые стороны соединяемых сек-
ций, равен двум секционным сторонам. На
рис. 4-4,а видно, что
Y _V _Y _9
(так как номера рядом лежащих
секционных сторон двухслойной обмотки разнятся на 2).
Шаг по коллектору Ук
является вместе с шагом Y\ основной характеристикой обмотки. Этот шаг
позволяет определить, к каким пластинам следует присоединить начало и конец
секции и тем самым к какой коллекторной пластине присоединяется начало следующей
секции. Для петлевой обмотки шаг по коллектору Ук=1.
У петлевой обмотки число параллельных
цепей равно-числу полюсов. Это записывают равенством 2а — 2р; здесь
-2а — число параллельных цепей; 2р — число полюсов. Петлевая обмотка
называется иногда параллель-
Рис. 4-4. Схемы петлевой и волновой
обмоток.
ной. Каждая параллельная цепь
располагается таким образом, что ее проводники лежат под одной парой полюсов.
Если по какой-либо причине зазор между
якорем и полюсами /, 4 (рис. 4-5) будет меньше, чем зазор под полюсами
3, 2, то магнитный поток под этими полюсами будет сильнее. Электродвижущая
сила параллельных цепей обмотки, лежащих под этими полюсами, будет также

Рис. 4-5. Уравнительные соединения.
выше. В результате через щетки А—А
и соединительную шину потекут токи, называемые уравнительными. Эти токи
нагружают щетки и способствуют искрению на коллекторе. Для борьбы с этим
явлением в петлевой обмотке применяют уравнительные соединения, соединяющие
проводники обмотки, одинаково расположенные под одноименными полюсами. Тогда
уравнительные тани, возникшие в результате каких-либо несимметрий, будут
замыкаться через уравнительные соединения и щетки будут разгружены от этих токов
(рис. 4-5,6). Необходимость устройства уравнительных соединений накладывает
особые условия на выбор количества пазов в машине. Действительно, для того чтобы
иметь под каждой парой полюсов одинаково расположенные пазы, нужно, чтобы
число пазов' на пару полюсов было целым.
Уравнительные соединения выполняют в
виде колец с числом отводов (отпаек), равным числу пар полюсов,
либо в виде вилок. Они располагаются
под лобовыми частями обмоток, иногда на коллекторе.
Описанная выше обмотка с числом
параллельных цепей, равным числу полюсов, называется простой.
В практике встречаются случаи, когда
требуется большое число параллельных цепей. iB этом случае могут применяться
сложно-петлевые обмотки, у которых число параллельных ветвей в п раз
больше, чем у простой петлевой обмотки, и шаг по коллектору составляет п
пластин. Обычно п выбирается равным 2. Обмотку можно представить себе как
две рядом лежащие петлевые обмотки, причем они могут замыкаться каждая на себя
(многократно замкнутые обмотки) или составлять одну (однократно замкнутую)
обмотку. Для таких обмоток требуется сложная система уравнительных соединений
(первого, второго и третьего рода (Л. 3]).
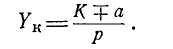
Волновая обмотка
В этой обмотке (рис. 4-4,6)
второй шаг Y2 отсчитыва-ется в том же направлении, что и шаг
У]. Полный шаг Ус является суммой Y\c и У2с.
Обмотка имеет волнообразный характер. После того как уложено столько секций,
сколько пар полюсов в машине (р), совершен первый обход вокруг якоря и
конец последней секции обхода присоединяется к пластине К коллектора, не
доходя на одно коллекторное деление до исходной (первой) пластины. Это
достигается соответствующим расчетом Ук.
Если конец секции попадает в исходную
пластину, то весь обход из р секций будет замкнут накоротко и при
вращении якоря в магнитном поле обмотка сгорит.
Исходя из сказанного условия, можно
очень просто выразить шаг по коллектору волновой обмотки:
т. е. шаг Ук,
взятый р раз, равен числу коллекторных пластин без одной 1. Зная
шаг Ук, легко определить полный шаг Ус- Из рис. 4-4,6
видно, что полный шаг Уо и шаг по коллектору Ук равны
между собой, с той лишь разницей, что шаг Ус выражается в секционных
сторо-
1 Обход может быть и таким,
что конец последней секции переходит за первую пластину В случае перехода за
исходную пла-
нах, а шаг YK в
коллекторных делениях. Поскольку на каждую коллекторную пластину приходится одна
секция или две секционные стороны, то, умножив шаг Ук на 2, получим
шаг Yc.
Если теперь из шага Ус
вычесть шаг У\с, определенный ранее, то получится шаг Y2c.
Можно отметить, что для правильного суммирования э. д. с. нужно, чтобы шаг
Y2c был близок к полюсному делению и был, как и У1с,
числом нечетным.
Волновая обмотка состоит из двух
параллельных цепей (2а = 2), и шаг по коллектору имеет такую величину,
что щетки одной полярности оказываются включенными параллельно также и внутри
обмотки через секцию, лежащую в нейтральной зоне (т. е. в середине между
полюсами) (рис. 4-6). Из сказанного вытекает ценное свойство волновой обмотки,
заключающееся в том, что можно оставить на коллекторе только по одной траверсе
каждой полярности. IB этом случае питание параллельных цепей обмотки происходит
через секции, лежащие в нейтральной зоне. Это свойство используется в
труднодоступных для осмотра двигателях (трамвай), так как позволяет уменьшить
число щеткодержателей до двух.
стану обмотка называется
«перекрещенной». Шаг по коллектору такой обмотки выражается формулой
у
К+[
Таким образом, обшее выражение для шага
Ук будет иметь вид:
Ук= р .
Свойства обмоток (перекрещенной и
щеперакрещенной) одинаковы, за исключением полярности щеткодержателей
(генератор) или направления вращения (двигатель).
Волновая обмотка имеет, следовательно,
независимо От числа пар полюсов всегда две параллельные цепи 2а = 2 и
иногда называется последовательной.
Поскольку проводники каждой
параллельной цепи в этой обмотке обходят все полюсы, уравнительных соединений не
требуется.

Рис. 4-6 Схема простой волновой обмотки.
к__[
Для четырехполюсной машины р = 2
и YK = —^— . Так
как коллекторный шаг Ук
должен быть целым числом, то число коллекторных пластин К должно быть
нечег-ным. Число же секций в машине может оказаться четным. При этом одна из
секций остается «мертвой», т е не присоединяется к коллектору и не участвует в
работе обмотки, а закладывается лишь для механического баланса якоря.
Последовательно-параллельная обмотка
При расчете машины может оказаться, что
из-за большого тока машины двух параллельных цепей будет мало, а 2р параллельных
цепей много. IB этих случаях применяется волновая обмотка с увеличенным
количеством параллельных цепей, называемая последовательно-параллельной. Она
выполняется таким образом, что после одного обхода конец секции попадает не в
пластину, находящуюся рядом с исходной, а не доходит до нее на столько пластин,
сколько пар параллельных цепей нужно получить:
На рис: 4-7 показана
последовательно-параллельная обмотка с двумя парами параллельных цепей. Ее можно
представить себе состоящей из двух волновых обмоток", каждая из которых имеет
одну пару параллельных це-

Рис. 4-7. Схема последовательно-параллельной обмотки.
пей. Между коллекторными пластинами,
принадлежащими одной обмотке, лежат пластины второй обмотки. Для питания обеих
обмоток щетка должна быть досга-
3 I» I 5 \Б I 7 1 Д I 3
I1U 47 \К\ rj\W\1b\W \1Y\K \ 1 12

Рис. 4-8, Схема обмотки с уравнительными соединениями.
точно широкой, чтобы перекрывать не
меньше двух пластин. Для обеспечения равномерного распределения тока между двумя
обмотками должны быть выполнены уравнительные соединения* (рис. 4-8).
* При нечетном отношении 2р/а
уравнительные соединения проходят под сталью якоря с задней стороны его на
переднюю [Л. 3].
Лягушечья обмотка
Значительное распространение получили
так называемые «лягушечьи обмотки», объединяющие в себе две обмотки, петлевую и
волновую. Обмотки названы так потому, что элемент этой обмотки (якорная катушка)
состоит из секции петлевой обмотки и секции волновой обмотки и по форме
напоминает лягушку (рис. 4-9).

Рис. 4-9. Схема лягушечьей обмотки,
а —правильная; б—неправильная.
Обмотка имеет очень хорошие
коммутационные свойства. В такой обмотке секции волновой обмотки выполняют
одновременно роль уравнительных соединений для секций, образующих петлевую
обмотку. Это обстоятельство позволяет значительно лучше использовать медь якоря,
поскольку уравнительные соединения в обычных петлевых обмотках лежат вне пазов и
не участвуют в работе машины.
Число параллельных цепей петлевой
обмотки и волновой обмотки должно быть одинаковым. Поэтому при числе пар полюсов
р>1 волновая обмотка выполняется с увеличенным числом параллельных цепей, т. е.
как последовательно-параллельная обмотка. Всего в обмотке, следовательно, 4р
параллельных цепей.
Схема обмотки должна выполняться так,
чтобы э. д. с. волновой й э. д. с. петлевой обмоток, измеренные между одними и
теми же пластинами коллектора, были равны, рис. 4-9,а. Иначе появятся внутренние
токи, могущие сжечь обмотку. На рис. 4-9,6 показана неправильная схема, когда э.
д. с. волновой обмотки не равна э. д. с. петлевой обмотки, так как соединены
секции, лежащие в разных пазах.
Недостатком обмотки является двойное
число слоев обмотки, что требует несколько большего объема изоляции в пазу и
усложняет пайку петушков.
Условия симметрии
Для получения симметричной обмотки, т.
е. обмотки, имеющей одинаковые параллельные цепи, должны быть выполнены
следующие условия симметрии:
1.
На каждую пару параллельных цепей должно приходиться целое число секций или
коллекторных пластин,
К
т. е. — равно целому числу.
2.
Для симметричного расположения параллельных
г 2р
цепей в магнитном поле отношения — и — должны
быть целыми числами.
Электродвижущая сила якоря. Сечение
проводников
обмотки
Электродвижущая сила (э. д. с.)
якоря машины постоянного тока выражается формулой
где р — число пар полюсов
машины;
а — число пар параллельных цепей
обмотки;
N — число проводов обмотки
якоря;
Ф — магнитный- поток, приходящийся на
один полюс,
мкс; п — число оборотов в
минуту.
Электродвижущая сила якоря Е
связана с напряжением на зажимах машины U формулой
£ = £/:±:(/Я+Дещ),
где IR — падение напряжения в
обмотках машины, обтекаемых рабочим током (т. е. последовательной, добавочных
полюсов и якоря); знак -\- берется для генераторного режима; знак — для
двигательного;
Аещ — падение
напряжения на щетках обеих полярностей, берется в пределах 0,5—2 в в
зависимости от марки щетки (табл. 6-1).
Сечение проводников обмотки
может быть определено в зависимости от допустимой плотности тока по формуле
где / — полный ток якоря;
а — число пар параллельных цепей
обмотки. Допустимая плотность тока якорной обмотки А берется в пределах
4—6 а/мм2; обмотки возбуждения —■ в пределах 1,5—3 а/мм2.
Содержание Предыдущий § Следующий
|