|
Содержание Предыдущий § Следующий
3-9. ОБМОТКИ МНОГОСКОРОСТНЫХ АСИНХРОННЫХ ДВИГАТЕЛЕЙ С КОРОТКОЗАМКНУТЫМ РОТОРОМ
Изменение скорости вращения этих двигателей достигается изменением числа пар полюсов обмотки статора. Наибольшее распространение получила схема, допускающая изменение скорости вращения в отношении 1 :2, например 3 000/1 500, 1 500/750 или 1 000/500.
Изменение числа пар полюсов в этой схеме достигается изменением направления тока в одной половине фазы.

Действительно, если у четырехполюсной обмотки (рис. 3-18,6) изменить направление тока двух катушек на обратное (рис. 3-18,а), то образуется воеьмиполюс-ная обмотка (на рис. 3-18 изображена только одна фаза обмотки).
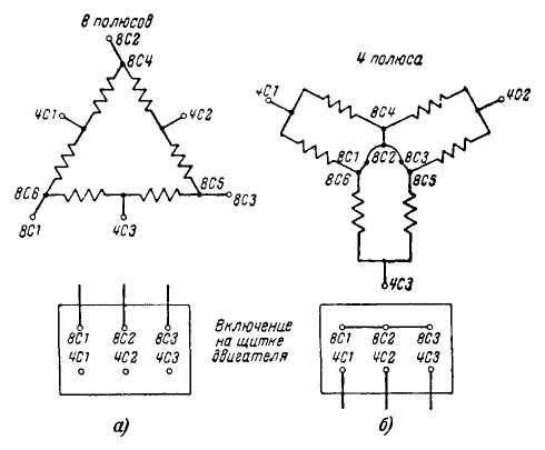
Рис. 3-18. Схема обмотки с переключением на четыре и восемь
полюсов (изображена одна фаза).
а —восемь полюсов — соединение полюсных групп последовательно; б —четыре полюса —соединение полюсных групп в две параллельные ветви.
Следует обратить внимание на шаг катушек, который для четырехполюсной системы является укороченным наполовину, а для восьмиполюснои диаметральным (г/ = т8 = 0,5т4).
Число пазов на полюс и фазу и число катушек полюсной группы берется по меньшему числу полюсов, как в приведенном выше примере для четырехполюсной обмотки.
Для того чтобы иметь возможность менять направление тока в одной половине катушек обмотки каждой фазы, полюсные группы соединяются через одну, образуя тем самым две равномерно распределенные по окружности статора половины обмотки. Обмотка каждой фазы имеет при этом три вывода: начало, середину и конец.
Рис. 3-19 Соединение фаз и включение на щитке обмотки с изменением числа полюсов в 2 раза. а—включение фаз обмоток в треугольник при восьми полюсах; б — включение фаз обмоток двойной звездой (звезда с двумя параллельными цепями в каждой фазе) при четырех полюсах
Изменение направления тока в одной половине каждой фазы достигается переносом питания из начала в середину фазы, а сами фазы оказываются соединенными в первом случае по схеме треугольника (А), а во втором случае двойной звездой (ЛЛ.)-
На рис. 3-19,а и б приведена схема широко распространенных двигателей типов А и АО. Начала фаз имеют на этом рисунке обозначения 8С1, 8С2, 8СЗ, концы 8С4, 8С5, 8С6 и середины 4С1, 4С2, 4СЗ соответственно.
Если требуется трехскоростной двигатель, то он выполняется двухобмоточным. Одна обмотка выполняется, как описано выше, на две скорости с отношением 1 :2,
например 3000/1 500 об/мин. Вторая обмотка Дает одну скорость, например 1 000 об/мин.
Четырехскоростные двигатели имеют две обмотки с переключением числа пар полюсов по описанному выше способу: 3 000/1500, 1000/500 или 1500/1000, 750/500 об/мин.
Содержание Предыдущий § Следующий
|