|
Содержание Предыдущий § Следующий
20.4. Тяговые двигатели для городского транспорта
Для различных видов городского электрифицированного транспорта применяются тяговые двигатели (табл. 20.7), соответствующие требованиям ГОСТ 2582-81. Технические данные двигателей приведены в табл. 20.8.
Двигатели выполняются со степенью защиты IP20, с самовентиляцией при подаче воздуха со стороны коллектора.
классов нагревостойкости F (катушки полюсов) и Н (якорь) на напряжение 600 В — для троллейбусов и трамваев, 825 В — для метро. Средний уровень звука двигателей (по шкале А) для метро — не более 88 дБ при 1500 об/мин, для троллейбусов — не более 98 дБ при 2500 об/мин, для трамваев — по ГОСТ 16372-84 при номинальной частоте вращения.
Таблица 20.7. Применение тяговых двигателей для городского электротранспорта
|
Тип
двигателя
|
Вид и тип подвижного
состава
|
|
ДК117БМ
|
Метрополитен, вагон типа
|
|
|
«И»
|
|
ДК117ВМ
|
То же, экспортное исполне-
|
|
|
ние для колеи 1435 мм
|
|
ДК117ДМ
|
То же, вагоны типов 81-714
|
|
|
и 81-717 для колеи 1520 мм
|
|
ДК210АЗ
|
Троллейбус типа ЗиУ-682В
|
|
ДК210БЗ
|
То же типа ЗиУ-У682В
|
|
ДК211А, AM
|
То же типа ЗиУ-684
|
|
ДК211Б, БМ
|
То же типа ЗиУ-682В1
|
|
ДК259ГЗ
|
Трамвай типа 71-605 или
|
|
|
. ЛМ-68М
|
|
ДК261А
|
То же типа 71-267
|
|
ДК261Б
|
То же типа ЛВС-80
|
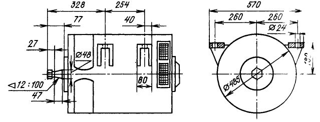
 Рис. 20.6. Габаритные и установочно-присоединительные размеры двигателей ДК210 и ДК211. Размеры, мм, приведены в таблице
|
Тип двигателя
|
*Ю
|
d,
|
|
dm
|
'i
|
h
|
'ю
|
ho
|
hi
|
h
|
|
ДК210
|
620
|
55
|
22
|
528
|
73
|
98
|
360
|
997
|
313
|
130
|
|
ДК211
|
650
|
62
|
22
|
590
|
73
|
98
|
360
|
1000
|
313
|
130
|
 Рис. 20.7. Габаритные и установочно-присоединительные размеры двигателя ДК117 для вагонов метрополитена
Рис. 20.8. Габаритные и установочно-присоединительные размеры двигателя ДК261 для
трамвая
Таблица 20.8. Технические данные тяговых
* Разрезные щетки Таблица 20.9. Показатели надежности тяговых двигателей для городского транспорта
|
Показатель
|
ДК117
|
ДК210
|
ДК211
|
ДК259
|
ДК260, ДК261
|
|
Наработка на отказ, тыс. км
|
2000
|
400
|
400
|
1400
|
1600
|
|
Вероятность безотказной ра-
|
0,92
|
0,85
|
0,88
|
0,95
|
0,96
|
|
боты до первой плановой
|
|
|
|
|
|
|
разборки
|
|
|
|
|
|
|
Ресурс до первого капи-
|
2000
|
390
|
450
|
280
|
675
|
|
тального ремонта, тыс.
|
|
|
|
|
|
|
км
|
|
|
|
|
|
|
Установленный срок служ-
|
18
|
14
|
14
|
18
|
18
|
|
бы до списания, лет
|
|
|
|
|
|
Класс вибрации - 4,5 по ГОСТ 16921-83, причем для двигателей метро вибрация контролируется при 3600 об/мин.
Расчетный номинальный режим работы 60 мин.
На вагонах трамваев и метро двигатели соединены попарно-последовательно, поэтому напряжение на коллекторе в 2 раза ниже напряжения сети. Для удобства обслуживания двигатели трамваев имеют только по два пальца щеткодержателей, расположенных в нижней части станины.
Показатели надежности двигателей приведены в табл. 20.9.
Габаритные и установочно-присоедини-тельные размеры даны на рис. 20.6 — 20.8.
Двигатель ДК117Б имеет специальную подвеску, отличную от подвески двигателя ДК117Д. Двигатель ДК117В уменьшен в осевом направлении за счет подшипниковых узлов и внутренней резьбы на коническом конце вала.
Все двигатели являются специализированными и должны применяться только для
|
Тип двигателя
|
Номинальная мощность, кВт
|
Напряжение, В
|
Частота ния, о
|
враще-б/мин
|
Способ возбуждения
|
Ток якоря, А, в режиме
|
|
|
номинальная
|
наибольшая
|
60
мин
|
продолжительном
|
|
ДК117М ДК210АЗ/БЗ
ДК211А/Б
ДК2ПАМ/А1М ДК211БМ/Б1М ДК259ГЗ ДК261А/Б
|
112 ПО
150
170 185 170
|
375 750
550
550 550
|
1480 1500
1750
|
3600 3900
3900
3900 3900 4060 4060
|
Последовательное Смешанное
|
330 220
|
280 185
250
300 300 160 200
|
|
|
Последовательное Последовательное
|
225 300
340 340 190 250
|
|
1860 1520
|
Последовательное
То же
» »
Смешанное
Последовательное
|
|
600 550
|
1650 1600
|
|
185 45
60
|
600
275 550
275
|
1740 1200 1650
|
|
550
|
1500
|
|
Смешанное
|
двигателей для городского транспорта
|
Допустимое отклонение части вращения от номинальной, %
|
Размеры щетки, мм
|
Число щеток на двигатель
|
Подшипники
|
Масса
|
|
Сторона привода
|
Противоположная сторона
|
кг
|
|
±4
|
(2 х 10) х 32x42*
|
8
|
80-413
|
30-32310М
|
760
|
|
±6
|
20 х 32 х 50
|
8
|
80-413
|
30-32310АЛ1
|
680
|
|
±6
|
(2 х 10) х 32 х 50*
|
8
|
70-413
|
ЗО-32310АЛ1
|
900
|
|
±6
|
(2 х 10) х 32 х 50*
|
8
|
70-413
|
30-32310АЛ1
|
900
|
|
+ 6
|
(2 х 10) х 32x50*
|
8
|
70-413
|
30-32310АЛ1
|
900
|
|
±4
|
25 х 32 х 50
|
4
|
ЗО-32310АЛ1
|
70-410
|
450
|
|
+ 4
|
25 х 32 х 50
|
4
|
30-32310АЛ1
|
70-410
|
465
|
подвижного состава городского электротранспорта
Содержание Предыдущий § Следующий
|