|
Содержание Предыдущий § Следующий
20.2. Тяговые электрические машины для тепловозов
Тяговые электрические машины для тепловозов (ГОСТ 2582-81) подразделяют по назначению на тяговые двигатели, тяговые генераторы и агрегаты и вспомогательные электрические машины.
По роду тока тяговые машины могут быть постоянного и переменного тока.
20.2.1. Тяговые генераторы постоянного тока серии ГП для тепловозов
Тяговые генераторы постоянного тока серии ГП (табл. 20.1) предназначены для эксплуатации на тепловозах с электропередачей постоянного тока и служат для питания тяговых электродвигателей. Генераторы кратковременно используются в качестве пусковых электродвигателей для запуска дизелей с питанием от аккумуляторной батареи. Основной режим работы генераторов S1. Климатическое исполнение и категория размещения У2 и Т2 по ГОСТ 15150-69. Генераторы допускают эксплуатацию при температуре окружающей среды от —50 до +40 °С при годовой среднесуточной температуре + 25 "С.
Генераторы выпускаются в защищенном исполнении с принудительной вентиляцией или самовентиляцией. Все типоразмеры генераторов имеют одну и ту же конструкцию и отличаются друг от друга габаритными размерами, техническими данными и спецификой исполнения в зависимости от назначе-
Таблица 20.1. Технические данные генераторов постоянного тока серии ГП
 ния тепловозов, для которых они предназначены.
Вращающий момент передается якорю генератора от коленчатого вала дизеля. Сердечник якоря набран из сегментированных или цельных листов электротехнической стали. Сердечники якорей с достаточно большой длиной разделены вентиляционными распорками, образующими радиальные вентиляционные каналы. Коллектор арочного типа.
Обмотка якоря — петлевая двухслойная, из медного провода прямоугольного сечения.
Рис. 20.1. Габаритные и установочно-при-
соединительные размеры генераторов
ГП-311ВУ2,ГП-312А2,ГП-312Т2, ГП-300БУ2,
ГП-ЗООБТ2, ГП-319А
Продолжение рис. 20.1
Якорь с обмоткой пропитан термореактивным лаком и покрыт эмалью.
Станина — цилиндрическая с опорными лапами по бокам. К станине болтами крепятся Шихтованные главные полюсы, на которых размещены обмотки независимого и последовательного (для пуска дизеля) воз-
буждения. Обмотка независимого возбуждения — многослойная, выполнена из прямоугольного провода. Катушки пусковой обмотки — однослойные или многослойные из медной шины, намотанной на ребро или плашмя.
Добавочные полюсы, крепящиеся к станине болтами, изготовлены цельными из толстолистовой стали. Обмотка добавочных полюсов — однослойная из голой прямоугольной медной шины, намотанной на ребро.
Устройство токосъема собрано на отдельном жестком кольце, закрепленном на подшипниковом щите и выполняющем роль поворотной траверсы с приводом от зубчатой шестерни. Нажимное устройство щеткодержателей обеспечивает требуемое нажатие на щетку без подрегулирования в процессе эксплуатации.
На подшипниковом щите имеются съемные крышки для осмотра и обслуживания щеточно-коллекторного узла и других узлов генератора.
Общий вид, габаритные и установочно-присоединительные размеры генераторов приведены на рис. 20.1.
20.2.2. Синхронные генераторы серии ГС для тепловозов
Синхронные тяговые генераторы серии ГС (табл. 20.2) предназначены для эксплуатации на тепловозах с электрической передачей переменно-постоянного тока и служат для питания тяговых электродвигателей постоянного тока через выпрямительную установку. Режим работы — продолжительный S1, климатическое исполнение и категория размещения У2 и Т2 по ГОСТ 15150-69, группа условий эксплуатации М25 по ГОСТ 17516-72.
Генераторы выполнены в защищенном исполнении с принудительной нагнетательной вентиляцией. Корпус — сварной цилиндрический с опорными лапами в средней части для установки и крепления на под-дизельной раме.
Сердечник статора изготовлен из сегментированных листов электротехнической стали. Обмотка статора соединена в звезду. Сердечники полюсов явнополюсного ротора набраны из листов конструкционной стали.
Со стороны контактных колец генераторы имеют свободный конец вала для подсоединения механизмов тепловоза, а с противоположной стороны на валу имеется
 Рис. 20.2. Габаритные и установочно-присоединительные размеры генератора ГС-515
Таблица 20.2. Технические данные синхронных тяговых генераторов серии ГС
|
Тип генератор.а
|
Мощность, кВт
|
Напряжение, В
|
Ток, А
|
Частота вращения, об/мин
|
кпд, %
|
Частота, Гц
|
Масса, кг
|
|
ГС-501АУ2 ГС-501АТ2
ГС-515У2
|
2800 1850 1400
|
360 580
345 535 175 280
|
2 х 2400
|
1000
|
95
|
100
|
6000
|
|
2x1500 2x1700
|
95,8
95 95
95 95,5
|
|
2x1100 2x1540
|
|
2 х 2500
|
фланец для соединения генератора с коленчатым валом дизеля через пластинчатую муфту.
Пружины щеткодержателей — рулонного типа с постоянным нажатием на щетки без дополнительной регулировки в процессе эксплуатации.
Общий вид синхронного тягового генератора с габаритными и установочно-при-соединительными размерами приведен на рис. 20.2.
20.2.3. Тяговые агрегаты для тепловозов
Тяговые агрегаты (табл. 20.3) предназначены для преобразования механической энергии дизеля в электрическую и питания тяговых электродвигателей, электродвигателей приводов вспомогательных механизмов тепловоза, цепей возбуждения генераторов.
Режим работы — продолжительный S1. Климатическое исполнение и категория размещения - УХЛ 2 и У2 по ГОСТ 15150-69. Группа условий эксплуатации — М25 по ГОСТ 17516-72.
Агрегат состоит из двух электрических машин — синхронного тягового генератора и вспомогательного генератора, объединенных в общем корпусе. Корпус имеет лапы для установки агрегата на поддизель-ной раме. Роторы обоих генераторов явно-полюсные и расположены на общем валу. Агрегат выполнен в защищенном исполнении с независимой вентиляцией. Выпрямительная установка размещается на специальных подшипниках. Агрегат устанавливается в кузове тепловоза. Место для его монтажа должно обеспечивать свободный доступ для технического обслуживания, а также для смены щеток и подшипника (при необходимости) без снятия агрегата с тепловоза.
Габаритные и установочно-присоединительные размеры агрегата А714А приведены на рис. 20.3.
20.2.4. Тяговые двигатели для тепловозов
Тяговые электродвигатели (табл. 20.4) предназначены для привода колесных пар тепловоза. Режим работы — продолжитель-
Рис. 20.3. Габаритные и установочно-присое-динительные размеры агрегата А714А
ный S1. Климатическое исполнение и категория размещения — У2 и Т2 по ГОСТ 15150-69. В части воздействия механических факторов внешней среды условия эксплуатации электродвигателей должны соответствовать группе М27 по ГОСТ 17516-72.
Тяговые электродвигатели являются электрическими машинами постоянного тока
последовательного возбуждения защищенного исполнения с независимой нагнетательной вентиляцией и широким диапазоном изменения частоты вращения. В зависимости от конструктивных особенностей тепловозов каждый тип электродвигателя выполнен для определенного способа его подвески на тележках тепловоза.
Электродвигатели имеют стальной корпус с горловинами в торцах для подшипниковых щитов. Со стороны коллектора в корпусе имеются люки для подачи в электродвигатель охлаждающего воздуха и для осмотра и обслуживания щеточно-коллектор-ного узла, соединений полюсных катушек и других составных частей электродвигателей.
Таблица 20.3. Технические данные агрегатов для тепловозов
|
Тип агрегата
|
Тяговый генератор
|
Вспомогательный генератор
|
Частота вращения агрегата, об/мин
|
Масса агрегата, кг
|
|
Мощность, кВт
|
Напряжение, В
|
Ток, А
|
КПД,
%
|
Мощность, кВт
|
Напряжение, В
|
Ток, А
|
КПД,
%
|
|
А-714 А-715 А-716
|
2800 1600 4000
|
580
|
2x1520
|
95,8
|
630 220 500
|
400 400 400
|
570 282 640
|
91
84 88
|
1000 1500 1000
|
7600 5700 10900
|
|
366 580
|
2 х 2400 2x840
|
95 94,8
|
|
285 660 410
|
2x1710 2x1850
|
94 96
|
|
2 х 2950
|
95,2
|
12*

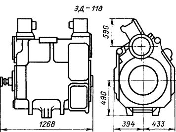
 Рис. 20.4. Габаритные и установочно-приоое-
динительные размеры двигателей ЭД-118,
ЭД-121
 Рис. 20.5. Габаритные и установочно-при-соединительные размеры двигателя ЭД-108А
Обмотка якоря — петлевая, класс нагрево-стойкости Н. Катушки полюсов имеют изоляцию монолит-2. Полюсы крепятся к станине болтами. Коллектор — арочного типа. Конструкция щеткодержателей предусматривает фиксацию положения конца пружины для удобства осмотра и замены щеток.
Изоляция электродвигателей влагоустой-чивая и обеспечивает их надежную работу при резких перепадах окружающей температуры (30 °С в течение 2 — 3 ч).
Общий вид, габаритные и установочно-присоединительные размеры некоторых тяговых электродвигателей для тепловозов приведены на рис. 20.4, 20.5.
В процессе эксплуатации тяговых электрических машин для тепловозов необходимо периодически удалять загрязнения с их внутренних и наружных частей, своевременно очищать фильтры на входе охлаждающего воздуха, добавлять свежую смазку в подшипники, заменять изношенные щетки новыми, следить, чтобы не засорялись дренажные отверстия.
Таблица 20.4. Технические данные тяговых двигателей
 20.2.5. Тяговые электрические машины различного назначения для тепловозов
В настоящее время находится в эксплуатации и выпускается ряд электрических машин для тепловозов, технические данные которых не полностью удовлетворяют возросшим требованиям. В табл. 20.5 даны краткие сведения об этих машинах. Производство их постепенно сокращается и к 1991 г. будет прекращено.
Таблица 20.5. Технические данные тяговых
электрических машин, выпуск которых будет
прекращен к 1991 г.
Примечание. Крепление электродвигателей ЭД-125 и ЭД-118 опорно-осевое, остальных-опорно-рамное.
|
Тип изделия
|
Мощность, кВт
|
Напряжение, В
|
Частота вращения, об/мин
|
|
Генераторы постоянного тока: ГП-405А
|
15
|
110
|
810
|
|
2150
|
|
МПТ 49/25
|
204
|
560
720
|
1500
|
|
Возбудители и под-возбудители:
Возбудитель главного генератора А-7Ю
|
26
|
215
|
2450
|
|
287
|
3300
|
|
Возбудитель генератора отопления агрегата А-710
|
19,3
|
170
275
|
2100 3300
|
|
МВТ 25/4
|
5.75
|
75
|
2150
|
|
810
|
|
ГТ 275/120
|
12
|
75
|
850
|
|
1800
|
|
МВТ 25/9
|
5,6
|
75
|
2150
|
|
ВС-650
|
26
|
215
|
2450
|
|
287
|
3500
|
|
ВС-652 В-600
|
0,55
22,5
|
3950 180
|
ПО 1820
|
|
Генератор синхронный ГС-507
|
545 745
|
354 480
|
630
|
|
1000
|
Содержание Предыдущий § Следующий
|