<< Предыдущая |
Содержание |
Следующая >>
Ёмкость в цепи переменного тока
§ 54.
ЕМКОСТЬ В ЦЕПИ ПЕРЕМЕННОГО ТОКА
В главе I § 10 был объяснен
процесс заряда и разряда конденсатора, включенного в цепь постоянного тока.
Рассмотрим теперь цепь
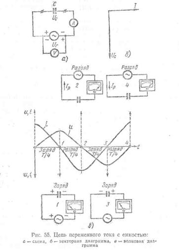
переменного тока (рис. 55,а), в которую включена электрическая емкость
(конденсатор). Активным сопротивлением этой цепи пренебрегаем (r = 0).

Полярность зажимов генератора
переменного тока, включенного в цепь с
емкостью, меняется с частотой 
В первую четверть периода
(рис. 55, в) конденсатор заряжаете и на
его пластинах появляются противоположные по знаку электрические заряды (на левой
пластине плюс, на правой — минус).
При заряде конденсатора по
проводам, соединяющим генератор с пластинами, перемещаются электрические
заряды, следовательно, протекает зарядный ток, измеряемый миллиамперметром.
Через диэлектрик конденсатора ток не проходит. Как видно на волновой диаграмме,
в первую четверть периода во время заряда конденсатора напряжение на пластинах
конденсатора возрастает от нуля до максимального значения, сила тока, наоборот,
в начале заряда будет максимальной, а в конце заряда, когда напряжение на
конденсаторе (Uс) окажется равным напряжению
генератора (Ur,), она станет равной нулю.
За вторую четверть периода
напряжение генератора постепенно убывает и становится равным нулю. В это время
конденсатор разряжается. При этом разрядный ток, протекающий по проводам,
имеет направление, противоположное направлению тока заряда.
За третью четверть периода
полярность на зажимах генератора изменится и напряжение возрастет от нуля до
наибольшего значения. В это время конденсатор вновь зарядится, но полярность
на его пластинах изменится. На левой пластине будет отрицательный заряд, на
правой — положительный заряд. По проводам пройдет зарядный ток, сила которого
к концу заряда конденсатора, когда
Uс =
Ur, станет равной нулю.
В четвертую часть периода
напряжение генератора убывает и становится равным нулю. Конденсатор в это время
вторично разряжается, и по проводам, соединяющим генератор с пластинами конденсатора,
вновь протекает разрядный ток.
Из сказанного следует, что за
один период изменения переменного напряжения дважды происходит процесс заряда
и разряда конденсатора и при этом в его цепи протекает переменный ток. Кроме
того, при заряде и разряде конденсатора ток в цепи и напряжение не совпадают
по фазе. Ток опережает по фазе напряжение на четверть периода, т. е. на 90°.
Построим векторную диаграмму
для цепи переменного тока с емкостью (рис. 55, б). Для этого отложим вектор тока
I в выбранном масштабе по горизонтали. Чтобы на
векторной диаграмме показать, что напряжение отстает от тока на угол
j = 90°, откладываем вектор напряжения
Uс вниз под углом 90°.
Выясним, от чего зависит сила
тока в цепи с емкостью. Обозначим сопротивление цепи Хс и назовем его
емкостным сопротивлением. Тогда закон Ома для цепи с емкостью можно выразить
так:

где
U —напряжение генератора, в;
Хc — емкостное сопротивление, ом;
I —
сила тока, а.
Известно, что сила тока в
цепи определяется количеством электрических зарядов, проходящих через
поперечное сечение проводника в единицу времени:

Если в единицу времени по
проводам протекает большое количество зарядов, то сила тока будет большой, и
наоборот, когда по проводам в каждую секунду протекает малое количество
зарядов,
то сила тока оказывается незначительной.
Допустим, что частота переменного
тока, вырабатываемого генератором, большая. В этом случае в каждую секунду
конденсатор много раз (часто) заряжается и разряжается. В проводах, идущих от
генератора к пластинам конденсатора, будет перемещаться в каждую секунду
большое количество электрических зарядов. По этому можно сказать, что в рассматриваемой
цепи возникает большая сила тока и в данном случае, согласно закону Ома,
емкостное сопротивление цепи Хс
оказывается малой величиной.
Если же частота переменного
тока генератора будет мала, то конденсатор в каждую секунду зарядится и
разрядится меньшее количество раз: В связи с этим по проводам цепи в каждую
секунду пройдет незначительное количество зарядов и сила тока будет мала, а
следовательно, емкостное сопротивление цепи, наоборот, будет большим.
Из сказанного можно сделать
вывод, что емкостное сопротивление обратно пропорционально частоте переменного
тока.
Емкостное сопротивление
зависит не только от частоты переменного тока, но и от величины емкости,
включенной в цепь.
Допустим, что в цепь включен
конденсатор большой емкости. Количество электричества, которое накапливает
конденсатор при заряде и отдает при разряде, прямо пропорционально его емкости:

Чем больше емкость
конденсатора, включенного в цепь переменного тока, тем большее количество электричества
переместится при заряде и разряде, по проводам, идущим от генератора к его
пластинам. Поэтому в проводах возникает ток большой силы и в данном случае,
согласно закону Ома, емкостное сопротивление цепи Хc будет мало. Если же включенная в цепь емкость мала,
то при заряде и разряде по проводам пройдет меньшее количество электрических
зарядов и сила тока будет
незначительной, следовательно,
емкостное сопротивление цепи, наоборот, будет большим.
Из сказанного можно сделать
вывод, что емкостное сопротивление обратно пропорционально емкости.
Таким образом. емкостное
сопротивление:

где Хс — емкостное
сопротивление, ом;
ώ - угловая частота
переменного тока, рад/сек;
С —емкость, ф.
Известно, что угловая частота
. Поэтому емкостное сопротивление можно определить
так:

где
f— частота
переменного тока, гц.
Если включенная емкость
измеряется в микрофарадах, то емкостное сопротивление

Если емкость измеряется в
пикофарадах, то

Следует подчеркнуть, что
имеется существенное различие между емкостным и активным сопротивлениями. Как
известно, активная нагрузка безвозвратно потребляет энергию генератора переменного
тока.
Если же к источнику
переменного тока присоединена емкость, то, как было рассмотрено выше, энергия
генератора расходуется при заряде конденсатора на создание электрического поля
между пластинами и возвращается обратно генератору при разряде конденсатора.
Следовательно, емкостная
нагрузка не потребляет энергию генератора, а в цепи с емкостью происходит
«перекачивание» энергии из генератора в конденсатор и обратно. По этой причине
емкостное сопротивление, как и индуктивное, называется реактивным.
Пример. Конденсатор
емкостью С=2 мкф включен в цепь переменного тока, частота которого 50 гц.
Определить:
1) его
емкостное сопротивление при частоте f=50 гц;
2)
емкостное сопротивление этого конденсатора
переменному току, частота которого 500 гц.
Решение. Емкостное сопротивление конденсатора переменному
току при частоте f=50
гц

При частоте f=500
гц

Из
приведенного примера видно, что емкостное сопротивление конденсатора
уменьшается с повышением частоты, а с уменьшением частоты переменного тока
емкостное сопротивление возрастает. Для постоянного тока, когда напряжение на
зажимах цепи не изменяется, конденсатор практически обладает бесконечно
большим сопротивлением и поэтому он постоянного тока не пропускает.
<< Предыдущая |
Содержание |
Следующая >>
|