|
назад | оглавление | вперед
4.4. Генераторы постоянного тока
В зависимости от способа питания обмотки возбуждения различают генераторы:
- с независимым возбуждением;
- с параллельным возбуждением;
- с последовательным возбуждением (сериесный);
- со смешанным возбуждением (компаундный); он имеет две обмотки возбуждения; одна включена параллельно обмотке якоря, а другая - последовательно с нею и нагрузкой.
Генераторы малой мощности иногда выполняются с постоянными магнитами. Свойства таких генераторов близки к свойствам генераторов с независимым возбуждением.
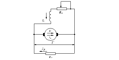
В генераторе с независимым возбуждением (рис. 4.8а) ток возбуждения не зависит от тока якоря Iа, который равен току нагрузки Iн. Обычно ток возбуждения невелик и составляет 1...3 % от номинального тока якоря.
Основными характеристиками генератора являются характеристики: холостого хода, внешняя, регулировочная и нагрузочная.
а)
б)
Рис. 4.8. Принципиальная схема генератора с независимым возбуждением (а) и его характеристика холостого хода (б)
Характеристика холостого хода U0=f(Iв) при Iн=0 и n=const (рис. 4.8б). Расхождение входящей и нисходящей ветвей характеристики объясняется наличием гистерезиса в магнитопроводе машины. Eост составляет 2...4 % от Uном.
 
Рис. 4.9. Внешняя (а) и регулировочная (б) характеристики генератора с независимым возбуждением
Внешней характеристикой называется зависимость U=f(Iн) при n=const и Iн=const (рис. 4.9а). Под нагрузкой напряжение генератора
|
,
|
(4.19) |
где
∑r - сумма сопротивлений всех обмоток, включенных последовательно в цепь якоря (якоря, дополнительных полюсов и компенсационной обмотки).
С увеличением нагрузки напряжение U уменьшается по двум причинам:
- из-за падения напряжения во внутреннем сопротивлении ∑r машины;
- из-за уменьшения ЭДС E в результате размагничивающего действия реакции якоря.
Величина составляет 3...8 %.
В генераторе с параллельным возбуждением (рис. 4.10а) обмотка возбуждения присоединена через регулировочный реостат параллельно обмотке якоря. Для нормальной работы приемников электроэнергии необходимо поддерживать постоянство напряжения на их зажимах, несмотря на изменение общей нагрузки генератора. Это осуществляется посредством регулирования тока возбуждения.
Регулировочной характеристикой генератора (рис. 4.9б) называется зависимость тока возбуждения Iв от тока якоря Iа при постоянном напряжении U и скорости n. Такая характеристика показывает, как надо изменять ток возбуждения для того, чтобы при изменениях нагрузки поддерживать постоянство напряжения на зажимах генератора. Эта кривая сначала почти прямолинейна, но затем загибается вверх от оси абсцисс, вследствие влияния насыщения магнитопровода машины. Следовательно, в машине используется принцип самовозбуждения, при котором обмотка возбуждения получает питание непосредственно от самого генератора.
а)
б)
Рис. 4.10. Принципиальная схема генератора с параллельным возбуждением (а); характер изменения ЭДС и тока возбуждения генератора в процессе возбуждения (б)
Самовозбуждение генератора возможно только при наличии гистерезиса в магнитной цепи.
При вращении якоря в его обмотке потоком остаточного магнетизма индуктируется ЭДС Еост , и по обмотке возбуждения начинает протекать ток. Если обмотка возбуждения включена так, что ее НС Fв направлена согласно с НС остаточного магнетизма, то магнитный поток возрастает, увеличивая ЭДС Е, поток Ф и ток возбуждения Iв. Машина самовозбуждается и начинает устойчиво работать с Iв=const, E=const, зависящими от величины сопротивления Rв цепи возбуждения.
Для режима холостого хода генератора:
|
,
|
(4.20) |
где
L - суммарная индуктивность обмоток возбуждения и якоря.
Зависимость e=f(iв) представляет собой характеристику холостого хода генератора ОА, а прямая ОВ - ВАХ сопротивления Rв (tgγ= Rв) (рис. 4.10б).
Пока имеется положительная разность (e-iвRв), член >0, т.е. происходит нарастание тока iв. Установившийся режим будет иметь место при =0, т.е. в точке С. При изменении величины сопротивления Rв прямая ОВ изменяет свой угол γ, что приводит к изменению установившегося тока возбуждения Iв0, и соответствующего ему напряжения U0=E0. Параметры цепи подбираются так, чтобы в точке С обеспечивалась устойчивость режима самовозбуждения. При случайном изменении iв возникает соответствующая положительная или отрицательная разность (e-iвRв), стремящаяся изменить ток iв так, чтобы он стал снова равен Iв0.
Степень устойчивости рассматриваемого режима будет определяться производной:
|
,
|
(4.21) |
где
β - σγξл пересечения характеристики ОА с прямой ОВ.
При увеличении Rв до критического значения Rв.кр., соответствующего γкр , угол β≈0 и режим самовозбуждения становится неустойчивым, при этом ЭДС генератора уменьшается до Еост. Таким образом, для нормальной работы генератора с параллельным возбуждением необходимо, чтобы Rв<Rв.кр.
Внешняя характеристика генератора с самовозбуждением располагается ниже внешней характеристики генератора с независимым возбуждением (рис. 4.11). Объясняется это тем, что в рассматриваемом генераторе напряжение уменьшается не только с ростом нагрузки и размагничивающего действия реакции якоря, но и вследствие уменьшения тока возбуждения , который зависит от напряжения U, т. е. от тока Iн.

Рис. 4.11. Внешние характеристики генераторов с независимым (верхняя кривая) и параллельным (нижняя кривая) возбуждением
Ток короткого замыкания создается только ЭДС от остаточного магнетизма и составляет (0,4...0,8) Iном.
Работа на участке ab внешней характеристики неустойчива.
Регулировочная характеристика генератора с параллельным возбуждением имеет такой же вид, как и для генератора с независимым возбуждением.
В генераторе с последовательным возбуждением (рис. 4.12а) ток возбуждения Iв=Iа=Iн.
а)
б)
Рис. 4.12. Схема генератора с последовательным возбуждением (а) и его внешняя характеристика (б)
Внешняя характеристика (кривая 1) и характеристика холостого хода (кривая 2) изображены на рис. 4.12б. Ввиду того, что в генераторе с последовательным возбуждением напряжение сильно изменяется при изменении нагрузки, такие генераторы практически не применяются. Их используют лишь при электрическом торможении двигателей с последовательным возбуждением, которые при этом переводятся в генераторный режим.
В генераторе со смешанным возбуждением имеются две обмотки возбуждения: основная (параллельная) и вспомогательная (последовательная). Наличие двух обмоток при их согласном включении позволяет получать приблизительно постоянное напряжение генератора при изменении нагрузки. Подбирая число витков последовательной обмотки так, чтобы при номинальной нагрузке создаваемое ею напряжение ΔUпосл компенсировало суммарное падение напряжения ΔU при работе машины с одной только параллельной обмоткой, можно добиться, чтобы напряжение U при изменении тока нагрузки от нуля до Iном оставалось практически неизменным.
Генераторы постоянного тока имеют большей частью параллельное возбуждение. Обычно для улучшения внешней характеристики они снабжаются небольшой последовательной обмоткой (1-3 витка на полюс). При необходимости такие генераторы могут включаться и по схеме с независимым возбуждением.
Генераторы с независимым возбуждением используются только при большой мощности и низком напряжении. В этих машинах независимо от величины напряжения на якоре обмотка возбуждения рассчитывается на стандартное напряжение постоянного тока 110 или 220 В с целью упрощения регулирующей аппаратуры.
назад | оглавление | вперед
|