|
назад | оглавление | вперед
4. Машины постоянного тока
4.1. Устройство, принцип действия и электромагнитный
момент машины постоянного тока
Устройство машины постоянного тока подобно обращенной синхронной машине, у которой обмотка якоря расположена на роторе, а обмотка возбуждения - на статоре. Основное отличие заключается в том, что коллекторная машина постоянного тока имеет механический преобразователь частоты - коллектор, а при мощности более 1...1,5 кВт так же и дополнительные полюса (ДП).
На статоре расположены главные полюса (ГП) с катушками обмотки возбуждения (ОВ) и дополнительные полюса. Обмотка якоря состоит из отдельных якорных катушек, включающих в себя несколько секций, концы которых присоединяются к соответствующим коллекторным пластинам. Возможны два основных способа соединения отдельных секций в обмотку: петлевой (рис. 4.1а) и волновой (рис. 4.1б):
а)
б)
Рис. 4.1. Простая петлевая (а) и волновая (б) обмотки машины постоянного тока
Чтобы присоединить следующую секцию обмотки, можно вернуться под исходный полюс; таким путем при поступательном движении вдоль окружности якоря выполняются соединения петлевой обмотки, называемой так же параллельной обмоткой.
Щетки делят петлевую обмотку на столько пар параллельных ветвей (а), сколько машина имеет пар полюсов (p), т.е. при петлевой обмотке .
При втором способе образования обмотки - соединяются между собой секции, лежащие под следующими по окружности якоря полюсами, выполняемого при поступательном движении вдоль окружности якоря. Таким образом, выполняется волновая обмотка, называемая так же последовательной обмоткой. Число параллельных ветвей при волновой обмотке равно 2 (2а=2), независимо от числа полюсов машины. Чтобы замкнуть волновую обмотку, т.е. чтобы включить в нее все секции обмотки, нужно несколько раз обойти окружность якоря. Петлевая обмотка замыкается после одного обхода якоря.
Простая волновая обмотка применяется для машин малой и средней мощности (до 500 кВт) при напряжении 110 В и выше.
Простая петлевая обмотка применяется для двухполюсных машин малой мощности (до 1 кВт) и машин свыше 500 кВт.
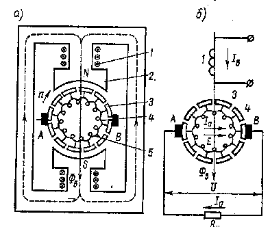
Характерной особенностью машины постоянного тока является (рис. 4.2):
- постоянство (в пространстве) магнитного потока возбуждения;
- наличие преобразователя переменного тока в постоянный, в коллекторных машинах - это механический преобразователь (коллектор).

Рис. 4.2. Электромагнитная схема машины постоянного тока (а) и схема ее
включения (б).(1- обмотка возбуждения; 2- главный полюс; 3- коллектор; 4-щетки; 5- обмотка якоря)
При вращении обмотки якоря в неподвижном магнитном поле, в ней индуктируется переменная ЭДС, изменяющаяся с частотой:
|
,
|
(4.1) |
где
n - скорость вращения якоря.
При вращении якоря между любыми двумя точками обмотки якоря действует переменная ЭДС. Однако между неподвижными контактными щетками действует постоянная по величине и направлению ЭДС E, равная сумме мгновенных значений ЭДС e1 , e2 , e3 и т.д. (рис.4.3), индуктированных во всех последовательно соединенных витках якоря, расположенных между этими щетками.

Рис.4.3. Векторная диаграмма, индуктируемых в якорной обмотке ЭДС.
Зависимость ЭДС Е от магнитного потока машины и скорости вращения якоря имеет вид:
|
;
.
|
(4.2)
(4.3) |
При подключении обмотки якоря к сети с напряжением U, ЭДС Е будет приблизительно равна напряжению U, и скорость вращения ротора:
|
.
|
(4.4) |
Следовательно, благодаря наличию коллектора при работе машины постоянного тока в двигательном режиме скорость вращения ротора не связана жестко с частотой сети, как в асинхронных и синхронных машинах, а может изменяться в широких пределах путем изменения напряжения U и магнитного потока Ф.
Ось симметрии, разделяющая полюса машины постоянного тока, называется ее геометрической нейтралью.
При разомкнутой внешней цепи ток в обмотке якоря не будет протекать, т. к. ЭДС, индуктированные в двух частях обмотки якоря, расположенных по обе стороны геометрической нейтрали, направлены встречно и взаимно компенсируются. Для того чтобы подать от обмотки якоря во внешнюю цепь максимальное напряжение, эту цепь нужно присоединить к двум точкам обмотки якоря, между которыми действует наибольшая разность потенциалов. Такими точками являются а и б, расположенные на геометрической нейтрали, где и следует устанавливать щетки А и В (рис.4.3). При вращении якоря точки а и б смещаются с геометрической нейтрали, но к щеткам будут подходить все новые и новые точки обмотки, между которыми действует ЭДС Е, поэтому ЭДС во внешней цепи будет неизменна по величине и направлению. Для уменьшения пульсаций ЭДС при переходе щеток с одной коллекторной пластины на другую в каждую параллельную ветвь обмотки якоря обычно включается не менее 16 активных проводников.
На якорь, по обмотке которого протекает ток I, действует электромагнитный момент:
|
.
|
(4.5) |
При работе машины в двигательном режиме электромагнитный момент является вращающим, а в генераторном режиме - тормозным.
назад | оглавление | вперед
|